Eugene Roberts*
* Correspondence. Tel. (626) 301-8476; FAX (626) 357-1929.
Department of neurobiochemistry, beckman research institute of the city of hope, Duarte, CA 91010, U.S.A.
Key words: aging; serum steroids; testosterone transport; dehydroepiandrosterone sulfate; arteriosclerosis; endothelial cells; adrenal cortical oxygenation.
This work was supported by institutional funds from the Beckman Research Institute of the City of Hope. Drs. Walter L. Miller, Lawrence N. Parker, Seymour Lieberman, and William Regelson and others were unstintingly helpful with guidance and advice, for which gratitude is expressed.
Abstract
The general aging sequence in tissues of healthy human beings is proposed to be: capillary endothelial cell damage 3 arteriosclerosis 3 decreased blood flow 3 metabolic dysregulation 3 secondary tissue damage. Molecular O2 is an obligatory substrate for the successive syntheses of 17α-OH pregnenolone and dehydroepiandrosterone (DHEA) by cytochrome P450c17 in the zona reticularis of the adrenal cortex, in which it is suggested that arteriosclerosis 3 decreased blood flow 3 O2 and glucose deficit 3 decreased O2-requiring synthesis of DHEA 3 eventual decrease in number of DHEA-synthesizing cells. Aging changes in the zona reticularis synergize with those in the hypothalamo-hypophyseal machinery that controls it neurally and hormonally, with ACTH-evoked pulsatile floods of cortisol coming from the adrenal zona fasciculata, with the onslaught of free radicals generated by the metabolism of catecholamines released from interdigitating cells of the adrenal medulla, and with age-correlated disabilities of erythrocytes to bind and release O2 to decrease the viability of the DHEA and dehydroepiandrosterone sulfate (DHEAS)-forming cells. One of the chief functions of serum DHEAS in the male may be to act as an allosteric facilitator of the binding of testosterone (T) to serum albumin, thereby helping target T to specific receptors and to allosteric sites for rapid and efficient action at the cellular level. There is reason to consider combining O2 therapy with appropriate administration of DHEA and T to optimize steroid functionality in the healthy aging male, and thus, possibly, to alleviate some of the age-related cognitive and physical decrements that occur. BIOCHEM PHARMACOL 57;4:329-346, 1999. © 1999 Elsevier Science Inc.
Beyond measurement: the pattern is the thing
Many years ago, a newly trained pediatrician whom I knew became utterly distressed upon failing to diagnose his own child’s illness, which was characterized by a sore throat, a high fever, and general malaise. upon seeing the child, his mother, whose medical education consisted of raising six children, laughed and said immediately, “Well, of course, the child has measles.” The next morning her diagnosis was confirmed when the telltale rash appeared. We have internalized models, often difficult or even impossible to express verbally, to which we constantly are matching environmental patterns that arise from our sensory perceptions.
As in everyday life, so in science, ultimately we search for patterns. We are pattern-seeking and pattern-recognizing creatures. What begins as single-minded attention to one or a small number of variables often leads to questions of how the results might relate to the whole living unit, whether it be cell, tissue, organism, or society. under primitive circumstances, the survival of individuals and species may have depended upon the recognition of similarities of patterns and on the discernment of small differences among similar patterns. We know intuitively what pattern recognition is and recognize it by the relief of anxiety or joy when we, personally, experience its occurrence. We also can recognize superior pattern-recognizing abilities in others, whatever the nature of their activities.
All living systems are pattern-recognizing or -generalizing entities, from single cells to complex human organizations. When a living system, unicellular or international, is presented with a new informational pattern in its environment (external and/or internal), it is activated in a unique fashion. The types of impinging influences and their sequences, intensities, and rates of change result in an activation pattern that is likely to be different, at least to some extent, from any experienced previously. Even in apparently well-controlled experiments in which single variables are manipulated, it is the resulting change in the pattern of the whole environment in space-time that is the stimulus (stress, pressure, forcing function) for the system.
When healthy living systems are stimulated effectively, processes are released to operate at rates and for durations that enable them to react adaptively in a manner compatible with their individual behavioral repertoires. Cascades of processes are generated by actions of environmental factors that reduce transmembrane potential and/or interact with specific membrane receptors. Cascades of other processes are released by expression of genetic potential. When environmental pressures are increased, the number of such countercurrent cascades and their rates and extents are increased in such a manner that the probability of their meshing to give system-typical adaptive patterns tends to remain approximately constant. The remarkable tendency to maintain relative constancies of structural, compositional, and functional features of fluids, cells, tissues, and organs under various environmental conditions (homeostasis) is indicative of the existence of biochemical and biophysical servomechanisms that coordinate a variety of complex biosynthetic and degradative pathways and that continuously adjust the rates of flow of substances between an organism and its environment, between extracellular and intracellular compartments of tissues, and between cytosol and organelles and among cytosolic aggregates (molecular ensembles) of individual cells. When it is desired to improve suboptimal biological function or to accelerate repair of damage as a result of disease, injury, or aging, it is necessary to facilitate adaptive coupling among relevant functional processes by relieving rate-limiting constrictions in mutually shaping interactions among intracellular, intercellular, and extracellular components of the system.
It is difficult to view living systems at all pertinent levels because, as Picasso said, “There are so many realities that in trying to encompass them all ends in darkness. That is why, when one paints a portrait, one must stop somewhere, in a sort of caricature. Otherwise, there would be nothing left in the end.” The present impressionistic paper is written in the spirit of Einstein’s words “Man seeks to form for himself, in whatever manner suitable to him, a simplified and lucid image of the world, and so to overcome the world of experience by trying to replace it to some extent by this image.”
Shakespeare—aging and blood serum levels of steroids
An organism does not collapse suddenly of old age like the “one-hoss shay.” It does not go “to pieces all at once, —
All at once, and nothing first, —
Just as bubbles do when they burst.”
(The Deacon’s Masterpiece,
by Oliver Wendell Holmes).
Rather, aging is a progressive concatenation of disease processes occurring with the passage of time. In the aging human organism—whether one looks at physiological, biochemical, behavioral, or pathological aspects—options ordinarily available to achieve adaptive responses are precluded by degeneration of the body machinery. Even during the early normal adult period, degenerative changes are taking place to some extent, but largely are being compensated for by activities of redundant elements and by adjustments in feedback and modulator systems. However, eventually pathological changes become sufficiently extensive and repair mechanisms sufficiently attenuated so that the social behavior and physiological responses of individuals become maladaptive, and survival becomes dependent upon the extensive use of artificial, social and medical support systems until death ensues.
It is difficult to view problems of human aging at all levels, from molecular-genetic to social. The loci of command-control within the different levels must be identified and the nature of their hierarchical nesting elucidated. I spent several years searching for “threads” from which to weave some sort of meaningful tapestry into which would fit many of the still unconnected observations. Eventually, it was most useful for me to begin to locate my “threads” by perusing repeatedly descriptions of the clinical progression of disabilities associated with aging of the human male. They seemed to read like expansions of Shakespeare’s concise characterization of what happens to a man from the sixth of his seven ages on to his final demise (from As you Like It):
.. . The sixth age shifts
Into the lean and slippered pantaloon,
With spectacles on nose and pouch on side,
His youthful hose well saved, a world too wide
For his shrunk shank; and his big manly voice,
Turning again toward childish treble, pipes
And whistles in his sound. Last scene of all,
That ends this strange eventful history,
Is second childishness, and mere oblivion,
Sans teeth, sans eyes, sans taste, sans everything.
Shakespeare, unparalleled genius of an observer that he was, had seen clearly that in aging males a loss of muscle mass and other, now known to be androgen-related, characteristics usually were precedent to obvious mental deterioration and death. A somewhat similar script might have been written for female aging and estrogen-related characteristics.
For as long as they have been known, androgenic and estrogenic substances have been administered to human males and females, respectively, to retard one or another feature of aging. Problems often arose that precluded prolonged use of the hormones. Endometrial bleeding, prostatic hypertrophy, and the possibility of carcinogenesis were among the several danger signs along the road. Obviously, cybernetic control mechanisms of the organism could be overwhelmed by quantitatively and temporally inappropriate exogenously imposed hormonal thrusts.
It was necessary to look elsewhere than only to the highly active sex hormones, themselves, for substances that might help to understand and possibly to attenuate the progressive incoordinations of bodily systems with age. Assuming that the oft-observed monotonic decreases in serum levels of DHEA† and DHEAS with age in men and women [1] were somehow importantly and directly related to age-related functional decrements, so-called biomarkers of aging, I and many others proceeded to perform studies related to these substances in human beings, rodents, and other species, revealing diverse interesting effects (see, for example, Refs. 2-7). However, the central “mystery” of DHEA and DHEAS was not penetrated. Observations about these substances continued to flit frustratingly among membranes, transmitters, receptors, intracellular signaling systems, nerve circuits, and genes without yielding the deepest secrets of their existence, if there are such. Reexamination was warranted of the age-related decrement of these substances and their chemical relatives in a broader context than had been done previously [8], while keeping in mind the uniqueness among the many species studied of the remarkably high levels of DHEAS in serum of healthy young adult humans and other primates and the apparent non-essentiality for life of adrenally derived serum DHEAS in adrenalectomized and hypophysectomized animals and human beings, that can be adequately maintained without replenishment of serum levels of DHEA and DHEAS from exogenous sources [2].
†Abbreviations: DHEA, dehydroepiandrosterone; DHEAS, dehydroepiandrosterone sulfate; BT, bioavailable testosterone; ADD, androstenedione; PREGS, pregnenolone sulfate; 17α-OH PROG, 17α-OH progesterone; 17α-OH PREG, 17α-OH pregnenolone; PREG, pregnenolone; PROG, progesterone; GABA, ϒ-aminobutyric acid; NES, neuroendocrine servosystem; rCBF, regional cerebral blood flow; 3β-HSD, 3β-hydroxysteroid dehydrogenase/Δ5,4 isomerase; DPG, 2,3-diphosphoglycerate; Hb, hemoglobin; and T, testosterone.
Some recent relevant measurements
Measurements of preprandial serum levels of a number of steroidal substances and peptides made in 56 exceptionally healthy males ranging in age from 20 to 84 years were combined with concomitant cognitive and physical tests that may be affected in aging [8]. The measured steroidal substances are listed in Table 1. From among the steroids listed, only those that showed a high negative correlation with age, r > —0.6, and statistically significant progressive stepwise age-related decrements in 5 age cohorts, were selected for further close consideration. With the exception of PREGS, the steroids meeting this criterion were the androgen-related substances shown in route C of Fig. 1 (see Fig. 4-I and 4-II for details). In Table 2, the substances are listed for the 5 age cohorts in decreasing order of the nanomolar quantities present in blood. It is seen that decreases with age in serum levels of DHEA and DHEAS are not unique for these substances.
Table 1. Correlations of steroid components with age

Table 2. Stepwise age-related changes of several steroids

The correlations of age with the significantly age-correlated functional variables, in all but one instance, were higher than those of any of the age-correlated biochemical variables (Table 3). BT correlated significantly with 7 of 9 cognitive and behavioral measures, and DHEAS, DHEA, and ADD, which correlated highly with BT, with only 3 of the 9. Since DHEAS correlated well with BT, but less well than BT with age and less well overall than BT with the functional measures, it seems likely that T derived from BT and/or substances to which it gives rise in tissues play a more direct role in whatever processes may be rate-limiting in the functions measured, and that DHEAS relates more indirectly to these functions than does T.
Table 3. Correlation coefficients of age and several serum steroids with levels of BT and with significantly age-correlated cognitive and physical measures (bold type, P < 0.01)*


Figure 1. 1. Outline of standard view of steroid metabolism in extracerebral tissues. The biosynthesis of steroid hormones begins with cholesterol, from which derive sex steroids (e.g. testosterone), glucocorticoids (e.g. cortisol), and mineralocosteroids (e.g. aldosterone). PREG is believed to be a major precursor for the steroid hormones. It is formed from cholesterol in mitochondria of tissues that produce steroid hormones. The rate of steroid synthesis is controlled by the delivery of cholesterol from cytoplasmic inclusion droplets to inner mitochondrial membranes, where steroidogenesis begins by production of PREG from cholesterol by action of cytochrome P450SCC (side-chain cleavage enzyme). Formation of PREG is regulated by pituitary hormones, such as luteinizing hormone and folliclestimulating hormone in ovaries and testes, respectively, and ACTH in adrenals. PREG can go directly to PROG and thence to aldosterone (route A), or to 17α-OH PREG, which is a precursor for cortisol formation (route B) and for sex steroids (route C). Route A can contribute to route B and route B to route C, as shown. DHEA, the first product in route C, can modulate the flow through routes B and C by inhibiting conversion of PREG and 17α-OH PREG. PREGS can be formed from PREG by sulfotransferase activity and also from cholesterol sulfate by the same enzymatic machinery that produces PREG from cholesterol. PREG may be formed from PREGS by desulfation in the circulation or after desulfation in tissues into which PREGS is imported. The formation of steroids from cholesterol and cholesterol sulfate may be controlled separately. Although all cells in the body require for regulation of their function at least some of the above steroids or metabolites or derivatives thereof, it is highly unlikely that any single tissue, cell type, or body fluid contains all of the substances, themselves, and/or all of the enzymes required to form them. This is illustrated for the different layers of the human adrenal cortex in Fig. 4. The blood furnishes the common reservoir of steroids from which their free and bound forms and derivatives thereof can be withdrawn by tissues or circulating blood cells to meet their needs and to which they can contribute excesses that are produced. Serum levels of these substances reflect synthesis, secretion, and transport by different cell types in various regions of the body, which processes are controlled by myriads of chemical and neural signals. Elegant labeling, constant infusion procedures are employed in the steroid field to answer specific metabolic questions in the intact human organism. Measurements of serum levels in single blood samples are subject only to guardedly limited molecular-mechanistic interpretation.
Serum dheas may be a facilitator of the binding of t to serum albumin, thereby helping target t to specific receptors and to allosteric sites for rapid and efficient action at the cellular level
In the human male, the aging changes most easily observed are those associated with decrements in androgenic functionality. The quintessential endogenous androgenic substances are T and some of its metabolites and derivatives, the most obvious functions of which are the maintenance of secondary male sex characteristics. BT, which represents T bound to non-globulin serum constituents, is believed to furnish the best estimate of tissue exposure to androgens. T that is bound to high affinity T-binding globulin, a major binding entity, or to other globulins is not readily available for intracellular transport [10-12].
The current survey [8] identified the BT fraction of the total serum T, and not DHEA or DHEAS, as the variable that correlated best with chronological age and with agerelated cognitive and physical deficits (Table 3). The BT fraction consists largely of T bound to albumin. Albumin has a low affinity for T, but because of its high concentration in serum, it binds most of the T not bound to the high affinity T-binding globulin. BT accounts for most of the serum T that is readily available to tissues. The low affinity of albumin for T and its high concentration in blood currently are believed to ensure that the T carried by albumin is the fraction of serum T that is most rapidly delivered and released to tissues. Total T fell with age, but the rate of decrement was less than that of BT (Fig. 2C), whereas the rate of decrease in BT paralleled almost exactly that of DHEAS (Fig. 2D), even though the concentrations of DHEAS were several orders of magnitude higher than those of BT (Table 2).

Figure 2. Stepwise age-related changes. The curves were obtained by plotting the median age of a particular cohort versus the mean value for the variable in the cohort/the mean value for the 20-29 year cohort. Key: (t) P < 0.01.
To what might be attributed the apparent yoking to each other of the age-related decline of BT and DHEAS so that the molar ratios of DHEAS to BT remained closely similar in all age cohorts (Table 2)? In the youngest cohort (20-29 years), the mean molar concentrations of DHEAS and of the T contained in the BT fraction were 1.04 X 10-5 and 6.6 X 10-9 M, respectively. The molar concentration of albumin, approximately 6.3 X 10-4 M, is relatively independent of age in very healthy individuals. DHEAS and T both can bind to albumin, DHEAS with considerably greater affinity than T because of its anionic nature. DHEAS can form a mass-action driven complex with albumin, the quantity of complex decreasing with decreasing DHEAS content. The albumin molecule has great flexibility and exists in different configurations when bound to various ligands, there being a mutuality of interaction so that the configurations of both albumin and ligands in the complexes may be different from those in the unbound states [13-18]. I suggest that DHEAS at a 10-5 M concentration or less forms a 1:1 complex with albumin that has greater affinity for T than unbound albumin has for T. A molecule of T may bind to the DHEAS-albumin complex to form a ternary 1:1:1 complex, with T and DHEAS binding to separate sites on the same albumin molecule. I further posit that this complex, in contrast to the naked hydrophobic T molecule, has a coat of H-bonded water on its surface that adheres in Velcro-like fashion to hydrated membrane surfaces, largely via H bonding. Thermal agitation and/or other asymmetric physical forces may cause rapid rolling movements of the complex over a membrane surface, either randomly or along specific molecular tracks, until the movement is retarded upon contact with androgen receptors and/or allosteric binding sites on the membrane. Anchored by H-bond formation, coulombic interaction, and favorable steric factors, the complex and its binding entities orient in a mutually shaping manner that results in dissociation of the complex, the DHEAS and albumin returning to the blood while interactions of T with androgen receptors or allosteric binding sites take place. This proposal is compatible with the relationship shown between DHEAS and BT and can be tested experimentally with the tools at hand. Even steroids covalently conjugated to bovine serum albumin can exert their typical membrane and behavioral effects [19].
If, in addition to binding to specific receptor proteins and exerting genomic effects, DHEAS and other steroids and steroid derivatives can bind to a variety of hydrophobic domains that exist in myriad cellular components, affecting their configurations and associations with each other and, thereby, their functional properties, the concentrationdependent relationships into which steroids may enter and the functions they may affect would be legion. Although neither serum albumin [15] nor serum DHEAS [2] is necessary for human life per se, by binding to life-essential substances they may facilitate association with specific molecular sites more rapidly and at lower concentrations and with greater specificities than such substances could attain in unbound forms. In this manner, DHEAS (and presumably many other steroidal substances) and albumin (and other proteins) could modulate many cybernetic processes and thus attenuate the occurrence of rate-limiting dysregulations that may trigger degenerative cell death or elicit suicidal apoptotic programs. For example, DHEAS is an allosteric antagonist of the GABAA receptor, but PROG, hydrocortisone, PREG, aldosterone, and bile acids are ineffective [20]. Thus, non-genomic effects may be exerted by the non-covalent association of steroids with sites on macromolecular entities, affecting their conformations and, therefore, their functional states.
Major systems involved in informational transactions—the key organizing role of the nes [21]
An awake organism continually scans with specialized receptors its multisensory environment, internally and externally, for physical and chemical changes (Fig. 3). At any particular time, the changing pattern in the perceived environment is the stimulus for the organism. A novel effective stimulus pattern activates receptors in a unique fashion, i.e., the types and numbers of receptors activated and their sequences and intensities of activation result in receptor and neural activation patterns different from any experienced previously by the organism. Release occurs of neural circuits, which may be considered to consist of cascades of serially aligned neuronal assemblies in which coded patterns of information entering from sensory transducers are progressively refined by the reduction of redundancy and the selection of particular features. The transformations of coded patterns in different neural sectors are achieved to a considerable extent by negative feedback loops that exist between and within the sectors, and their temporal and spatial integration is achieved by activity of neural command centers, such as cerebellar cortex, hippocampus, basal ganglia, reticular nucleus of the thalamus, and association cortex. The “hard-wired” neuronal elements of the through-put and command neuronal circuits, the blueprints for the construction of whose framework largely are inherited by the organism, are surrounded by inhibitory local-circuit neurons, largely GABAergic, many of whose specific commitments are made during development, as well as later in life, and which not only participate in virtually all phases of information processing but also may undergo plastic changes that may be involved in long-term retention of experience. Communication between neural elements takes place through synaptic and gap junctions on a millisecond or submillisecond time scale and through changes in rapidly disseminated local and global electrical and electromagnetic fields generated by the neural activity, integrated readouts of all of the above being made in specialized regions of the brain.

Figure 3. Model for behavior showing the major systems involved in informational transactions.
In Fig. 3 is diagrammed the assumption that the environment, acting through the receptors on neural circuits in the CNS, has an effect on the NES, which, in turn, has important influences on behavior at all times, but particularly importantly at times when new environmental settings require the organism to develop new ways of adjustment. The key to the NES system is in the hypothalamus, which plays a central role in the coordination of physiological processes within the organism so that a relative constancy of the steady states (homeostasis) within the organism is maintained at all times. It has controlling roles in the release of pituitary hormones that have antidiuretic and oxytocic effects (posterior pituitary), as well as in the function of the anterior pituitary, adrenal, and thyroid glands and the gonads. Incoming signals may cause hypothalamic release of corticotropin-releasing hormone, which stimulates synthesis and release of ACTH by the anterior pituitary. ACTH, and its simultaneously released trophic and modulatory substances are regulators of adrenocortical steroidogenesis and the subsequent release of cortisol, DHEA, and DHEAS from the adrenal cortex. The hypothalamus also sends impulses to the adrenal medulla and pancreas, thus playing a governing role in the secretion of epinephrine, norepinephrine, and insulin. Motor pathways from the hypothalamus include fibers that participate in the regulation of respiration, shivering, piloerection, sweating, heart rate, vasomotor changes in peripheral organs, gut motility and secretion, dilation of the pupil, and the widening of the bronchioles. Other neural projections from the hypothalamus that connect with the thalamus and cerebral cortex are involved in maintenance of the alert state.
There are many inputs to the hypothalamus from both forebrain structures and the brainstem, and in many neurons of the hypothalamus there is convergence of several sensory modalities. In addition, some neurons in the hypothalamus are remarkably sensitive to changes in osmotic pressure, glucose concentration, Po2, Pco2, steroid hormones, or temperature. Imperfection of the blood-brain barrier in the hypothalamus exposes nerve cells in this region more readily to humoral influences than those in most other regions of the CNS. Changes in levels of most blood constituents may have an effect on some specialized neurons in the hypothalamus.
Activity in the NES causes neurohumoral changes that facilitate adaptive activity and plastic change throughout the CNS and in the organism as a whole. In other words, through increasing local circulation and through secretion of hormones and growth factors, it puts the organism in a condition of optimal readiness to perform previously learned behaviors smoothly and to learn new adaptive behaviors rapidly. It has both shortand long-range functions in restoring the state of well-being and ensuring future adaptive capacity. There is much evidence that suggests that leading edges of aging dysregulations may take place in the NES because of unfavorable conditions that arise [22-25], e.g. decreased blood flow resulting from arteriosclerotic changes (see below).
In many instances in which they act, peptides, thyroxine, steroids, and prostaglandins, as well as probably a host of other substances, serve to optimize regional activity in the nervous system and in other tissues in relation to functional demands, without themselves necessarily being involved in specific neural information transmittal. It has been suggested by Roger Guillemin that such substances be called cybernenes (Fig. 3). They exert actions on specific receptors or allosterically on macromolecular entities that influence efficacies of information transmittal within the nervous system. Their actions and the consequences of their actions may persist for minutes, hours, or longer. Some peptide or steroid hormones, for example, may temporarily “line-label” neural pathways, differentially facilitating behavioral options related to consummatory activities such as eating, drinking, and sex [26]. Specific cybernenes may exert relatively long-lasting effects on the cellular elements in the nervous system, possibly setting the gain on the efficacy of individual synapses, on specific types of synapses, or on all of the synapses in given regions or specific circuits. An inappropriate balance between cybernene availability and distribution with the activities in through-put and command neural circuits can result in gross nervous system malfunction and in maladaptive behavior of the organism as a whole.
Although our ultimate concern in this paper largely is with some specific aspects of human adrenocortical function, the roles of the NES system as a whole always must be kept in mind, even when not mentioned specifically. All pertinent aspects of NES-adrenal relationships, both neural and hormonal, cannot be dealt with herein, in detail, because of their numbers and complexities and the incompleteness of our knowledge about them.
Louis sokoloff and his colleagues of the national institute of mental health team (1955-1960): the cerebral aging sequence is arteriosclerosis → decreased cerebral blood flow → metabolic dysregulation → secondary tissue damage
Does aging begin in a particular tissue, e.g. the brain, anterior pituitary gland, or adrenal cortex, or in a particular element shared by all tissues, such as the blood vessels?
The “gold” standard of relevant in vivo human studies is a largely forgotten, remarkable collaborative, multidisciplinary study that was performed by 22 investigators at the then newly founded National Institute of Mental Health between 1955 and 1960 [27, 28]. Observations and measurements were made of many factors thought to be possibly related to overt manifestations of aging in elderly men, mean age 70 years, “who were functioning effectively in their communities and were as free of evidence of disease, including vascular disease, as was possible to obtain in their age group.” No significant changes were found in these men in cerebral blood flow (nitrous oxide method) and O2 consumption by comparison with a 21-year-old group of healthy young men. However, even in these healthy elderly individuals, there were detectable age-related deficits in cognitive and perceptual functions and electroencephalographic activity. In a similar group of “very healthy” men that exhibited some objective evidence of minimal arteriosclerosis, there was a statistically significant decline in cerebral blood flow of 10-16% and of O2 consumption, as well. The results suggested the existence of cerebral circulatory insufficiency and local metabolic deficit even in the presence of minimal degrees of arteriosclerosis.
A subsequent study was performed by others employing the noninvasive 133xenon inhalation technique for measurement of rCBF in a healthy group of 52 men and 51 women ranging in age from 15 to 87 years, who probably were not screened as extensively as those in the NIMH group for minimal signs of arteriosclerosis [29]. There were significant sex-similar and region-similar age-related declines in rCBF in both hemispheres and in the frontotemporal and parieto-occipital areas. A pronounced decline in rCBF (11%) was observed in the latter study even when comparing the youngest (<30 years) to the next age group (30 to 39 years).
Results similar to those above have been found in many subsequent studies using positron emission tomography (PET) and functional magnetic resonance imaging (fMRI). As arteriosclerosis progresses, there is a decrement in ability to energize and maintain functional and restorative processes within the brain.
Arteriosclerosis is ubiquitous among elderly individuals. The sequence originally proposed by Sokoloff and coworkers probably occurs not only in brain but also in most other tissues, including the adrenal cortex. Early arteriosclerotic changes occurring in the NES would have far-reaching consequences throughout the whole organism because of the central control role that this region plays. Arteriosclerotic changes in extracerebral tissues must interdigitate with those in the NES in producing whatever final pathological consequences are observed. It is still a mystery as to why changes in brain activity, wherever they occur, are so reliably accompanied by changes in blood flow and glucose utilization but exceed changes in O2 consumption. It is remarkable that the earliest modern quantitative studies, cited above [27, 28], were able to identify arteriosclerosis as being key to disturbances in the “orchestration” of the brain.
Capillary endothelial cells—likely targets for early damage with increasing age: general aging sequence—capillary endothelial cell damage → arteriosclerosis → decreased blood flow → metabolic dysregulation → secondary tissue damage
I believe that most pathological changes observed during aging arise as a consequence of defects that begin in the microvasculature [30]. The blood vessels of all tissues are completely lined with endothelial cells. Located at the front line of defense between a tissue and a potentially hostile extracellular environment, the vascular endothelial cell has a heroic role to play. Much like a warrior in combat before the advent of antibiotics and other benefits of modern medicine, an injured endothelial cell must be able to repair itself or be removed from the fray and perish rapidly. There are many ways that such injuries could occur: hemodynamic, immunological, chemical, free radical, microbial, viral, and nutritional.
Local differentiations in structure and function have been found wherever studied, and biochemically differentiated microdomains can be shown to exist on the surfaces of individual cells of capillary endothelium. Since many of the characteristics of endothelial cells are determined by the environment in which they develop, it is likely that great differences exist among endothelial cells of capillaries in different regions. We can assume that all endothelial cells of a particular organism have the same genetic potentialities for making chemical compounds that are important in plasma membrane structure (lipids, structural proteins, channel, transport, and enzymatic proteins, glycolipids, and polysaccharides). The details of assembly of supramolecular units at membrane surfaces are regulated by enzymes whose specificities are under genetic control. However, the assembly process is subject to many epigenetic local influences [e.g. pH, concentrations of small charged molecules (organic and inorganic), availability of water]. In addition, a cell may exercise a number of options in terms of the exact number and types of molecules employed in construction of surface structures and still be able to meet its functional needs. A mosaic of different structures exists, even on the surface of one cell. Nonuniformity and specialization of cell surface regions in individual cells have been repeatedly seen morphologically in light and electron microscopic studies and have been detected by sensitive biological tests. Probably no two endothelial cells in the adult organism are identical in every respect.
Arteriosclerosis
Absent all other types of damage that might occur, arteriosclerotic changes arise inevitably as a result of cumulative age-related hemodynamic damage to endothelial cells of the arterial vasculature. These cells are subjected to the unremitting stress of pulsation of blood vessels caused by the pressure waves arising from cardiac action. There is high velocity impact of blood on arterial walls, particularly at bends, turns, or curves, where tremendous wear and tear occurs on resident endothelial cells because of the turbulence occurring in their vicinity. There are greatly increased turnovers of endothelial cells in such regions and probably decreased lengths of telomeres by comparison with what is observed in straight portions of the arterial vessels or in the veins, in which flow rates of blood are much lower than in arteries. Thus, no one can completely escape the occurrence of arteriosclerosis, even if all disease and exogenous environmental toxic factors were eliminated. Arteriosclerotic lesions in regions of high hemodynamic impact are observed upon autopsy, even in children. The structure of human adrenocortical arteries is sufficiently convoluted [31, 32] so that even in the absence of any specific disease processes, there are likely to be many progressive agerelated local arteriosclerotic changes. Unfortunately, human adrenocortical circulation is so complex that comprehensive studies in aging and disease have not been attempted.
The removal of functionally or structurally flawed cells and their replacement by normal ones is a highly adaptive process, providing a proper balance is maintained between cellular destruction, removal, and replacement so that functional integrity can be maintained. However, it is almost impossible for the repaired blood vessels to be as well organized as those before injury. None of the cellular elements that make up the vessel walls and endothelium are passive. At all times they are exchanging chemical signals with each other and with the fluid and cellular components in which they are bathed or with the extracellular matrix with which they associate. For example, vascular endothelial cells form and secrete many highly active substances, such as prostacyclin, NO, cyclic GMP, the endothelins, and interleukin-6; and inputs of many kinds impinge upon them. Regeneration of injured vascular tissue does not occur in a tightly coordinated, lock-step manner. Structural defects in repaired blood vessels often result. As consequence of recurrent cycles of injury and repair, during which there are simultaneous exposures to growth factors and degradative enzymes, there result increases in variability of endothelial cell size and shape. Distortions occur in vascular architecture that have been described as “tortuosity, kinking, looping, turning, braiding, vascular wicker works, and glomerular loop formation.” There is thickening of capillary walls, alteration of capillary and arteriolar diameter, disappearance of the perivascular neural plexus, and radially arranged fibrillary changes in the adventitia (see, for example, Refs. 33-42).
The above kinds of aging changes in blood vessel structure are attributable largely to initial injuries to endothelial cells. To cite Ref. 43, “The response is characterized by adhesion of platelets and macrophages on the site of injury, the formation of lipid and cell-rich lesions or “plaques” on the intimal or luminal surfaces of arterial tissues, and the invasion of underlying smooth muscle cells into the intimal space. If left unchecked, there will follow an age-dependent expansion of the lesion into the lumen, potentially leading to occlusion and infarction at myocardial, cerebral, or other sites.
The length of telomeric DNA is a marker of replicative age and division capacity of somatic cells. Because human vascular cells do not have telomerase activity, the length of telomeric DNA can serve as a marker of replicative age and division capacity. It is a marker of cell turnover for human vascular tissue. It is likely that not only the loss of replicative capacity but also the alteration in gene expression seen in senescent cells contributes to age-related cardiovascular disease. If senescent endothelial cells accumulate at focal sites of high cell turnover, then their reduced ability to divide and form a continuous monolayer will expose the underlying media to blood-derived mitogenic and adhesive factors, which would contribute to the formation of the expanded intimal morphology characteristic of an atherosclerotic plaque. Aberrant expression of genes such as endothelin and intercellular adhesion molecules in senescent endothelial cells could also participate in atherogenesis.”
There may appear on membranes of infected, aging, or dying endothelial cells proteolytically released fragments, ordinarily existing as immunologically hidden portions of large native protein aggregates, which as separate entities become signals to components of the immune network to destroy the cell and to remove the debris by available degradative machinery [44]. Unfortunately, sufficient similarities in antigenic components may exist in endothelial cells in different tissues so that normal endothelial cells distant from a site of injury may be attacked. Thus, kidney damage may result in autoimmune attack on endothelial cells in skin capillaries (see Ref. 30).
Quadripartite morphological and functional zonation in the human adrenal cortex
I overcame the confusion of trying to understand “adrenal cortical biology” when it became clear that the human adrenal cortex differs in many respects from the cortex of non-primate species. Most helpful in this pursuit was a rarely cited monograph published in 1969 by Symington[45]. I became acquainted with this magisterial work through an associate who obtained a copy from the table for discarded books at the Stanford University medical library. For the first time I began to discern a realistic picture of the unstressed normal adult human adrenal cortex.
Let us start with the inner zone of the adrenal cortex, the zona reticularis. Compact cells of the zona reticularis are arranged in alveoli separated by prominent thin-walled sinuses. The cells are poor in lipid, which is present in small droplets. The cytoplasm is granular, eosinophilic, and rich in RNA. These compact cells are intermediate in cytoplasmic volume between the cells of the other zones to be described below. They have densely packed cytoplasmic vesicles and granular endoplasmic reticulum. Spherical mitochondria are abundant and have a tubular and cristate internal structure. These cells do not have any free osmiophilic lipid, but they do have a few lipid vacuoles, many lysosomes, and extensive microvillous formation. Osmiophilic or residual bodies are possibly lysosomal in nature; and lipochrome pigment (aging pigment) may be seen in abundance in these cells in old people. These cells are the chief major suppliers of DHEAS in the body but cannot make the major sex hormones because they do not possess the enzyme 3β-HSD.
Although at first glance there appears to be an abrupt change in appearance from the zona reticularis to the zona fasciculata, with an undulating interface sharply delineating the two zones, there are cells at the interface that are different in appearance from those in either of the above layers. The cells at the interface between the zones possess spherical mitochondria that show great variation in size and striking vesicular structure. Many large membrane-bound non-osmiophilic lipid vacuoles are found in them, and they contain numerous lysosomes and microvilli. I propose to call these the interface cells and suggest that they have a different steroid biosynthetic role than the cells of the reticularis and fasciculata layers (see below). I believe they produce the major sex steroids, T, dihydro T, estrone, and estradiol. Similarly appearing cells occasionally are seen in the zona fasciculata.
The zona fasciculata constitutes most of the adrenal cortex. Its cells are arranged in long regular columns and, in the non-stressed gland, are filled with large lipid globules that are removed in the preparation of paraffin sections to form a clear vacuolated cytoplasm (clear cells). They have little stainable RNA, and only a few mitochondria are seen in their cytoplasm. They have a large cytoplasmic volume and densely packed cytoplasmic vesicles and spherical mitochondria of uniform size with a tubular internal structure and few vesicles. Many osmiophilic-free lipid aggregates are present, and few lysosomes and only occasional microvilli are seen. These are the cortisol-producing cells.
The zona glomerulosa, in which aldosterone is produced, is rarely prominent in the human adrenal cortex and, when present, is seen in some parts of a section and not in others. This focal nature of the zona glomerulosa must be emphasized since this is not generally appreciated, and often in the literature, a prominent zona glomerulosa is described when the cells reported are really those of the zona fasciculata. The cells of the zona glomerulosa have small dark-staining round nuclei and scanty lipid-containing cytoplasm, which gives a positive stain for RNA. The cells contain abundant mitochondria. The glomerulosa cell shows a relatively large nucleus, small cytoplasmic volume, scattered cytoplasmic vesicles, and elongated cristate mitochondria. The scanty osmiophilic lipid is lying free in the cell, and few lysosomes are seen. The cell membrane is often complexly interlocked with neighboring cell membranes, and occasional microvilli are seen. There is no sharp dividing line between the zona glomerulosa and the zona fasciculata; the cells of the latter merge with the ill-defined zona glomerulosa, and in regions where this zone is absent, the zona fasciculata extends outwards to the capsule.
Division of the adrenal cortex into three distinct zones from outer to inner (zona glomerulosa, zona fasciculata, and zona reticularis) is still accepted by many, regardless of species. However, the three “classical” zones, the concept of which was derived from composites of observations made, for the most part, in non-primate species most convenient for study, are rarely seen in normal human adrenals and, when present, some pathological condition should be suspected [45].
Aspects of Cell Dynamics in the Human Adrenal Cortex
Like other somatic cells, the cells of the adrenal cortex probably do not possess telomerase activity in the normal unstressed state, but it is not known whether or not telomerase activity might be elicited in them. For example, telomerase was activated in the prostate and seminal vesicles of the castrated rat [46]. The telomerase activity disappeared during testosterone-induced regeneration of these tissues. It will be of great interest to determine whether or not telomerase activity is inducible in cells of the various adrenal cortical zones under conditions of stress and, if it is, whether or not it is repressed by the substances formed within the different cell types.
As matters stand now, we must assume that each of the cell types described above probably can undergo mitosis and has a finite life span that depends on telomeric length. Mitotic cell division in the unstressed adrenal in humans is seen only in the cells of the zona reticularis and never is observed in clear cells in any part of the zona fasciculata [45, 47]. For obvious reasons, it is not possible to perform large numbers of meaningful highly controlled experiments in vivo on adrenal function in normal humans. A unique series of observations was made on 40 patients with advanced mammary cancer subjected to two-stage adrenalectomy [47]. After one adrenal was removed, the second gland was removed after an interval ranging from 7 to 21 days; 200-400 units of ACTH, possibly contaminated with growth hormone, was administered over the 3 days prior to operation in all but 6 of the cases. Thus, 40 glands were subjected to the stress of the first operation, and 34 to both operation and hormone administration. The mean mitotic count of the cortices of the adrenal glands before surgery was 0.9 per 100 high-power fields, a number that was not exceeded in the 6 cases not receiving hormone during the second period. In 9 of the 34 specimens from individuals receiving hormone in the second period, the mitotic count was grossly elevated, in one case to 35 mitotic figures per 100 high-power fields. The remaining 25 cases showed little or no increase in mitoses. Most importantly, mitotic figures were found in unstimulated glands only in compact RNAcontaining cells, notably in the zona reticularis; but such cells also were seen in fairly peripheral positions in the zona fasciculata in the glands stimulated as described above, implying that growth, cell division, and cell migration had taken place.
Study of normal adrenal glands obtained from 10 subjects (34-58 years) undergoing nephrectomy due to nonpapillous carcinoma of the kidney [48] showed the following apoptotic labeling indices for free 3'-ends of DNA (labeled nuclei per 100 nuclei): zona reticularis, 3.90 ± 0.78%; zona fasciculata, 9.36 ± 1.68%; and zona glomerulosa, 50.46 ± 5.22%. On the other hand, immunostaining for the δ-subunit of DNA polymerase, which is necessary for DNA repair and for synthesis, was highest in the zona reticularis, and little or no expression of it was noted in the zona glomerulosa. The interpretation of the above data awaits further information.
It is surmised that upon ACTH stimulation, the clear cells respond immediately, and steroids are formed and released [45]. If administration of ACTH is continued, the cells become compact in type. There are increases in RNA and in enzymes involved in steroid biosynthesis, particularly at the interface between the zona fasciculata and the zona reticularis. The immediate effect of ACTH is to release steroid hormones from precursors stored in clear cells, while its long-term effect is, in some way, involved in developing the enzyme systems in compact cells to allow continued production of steroids at a steady rate.
The peculiar vascular arrangement of the human adrenal [30, 31] is so designed that ACTH and possibly other pituitary hormones and modulators are continually in contact with the compact cells of the zona reticularis and, in time of stress, can be brought into contact with the clear cells at the interface between the two zones [45].
Aspects of steroid-biochemical dynamics in the human adrenal cortex [2-7; 49, 50]
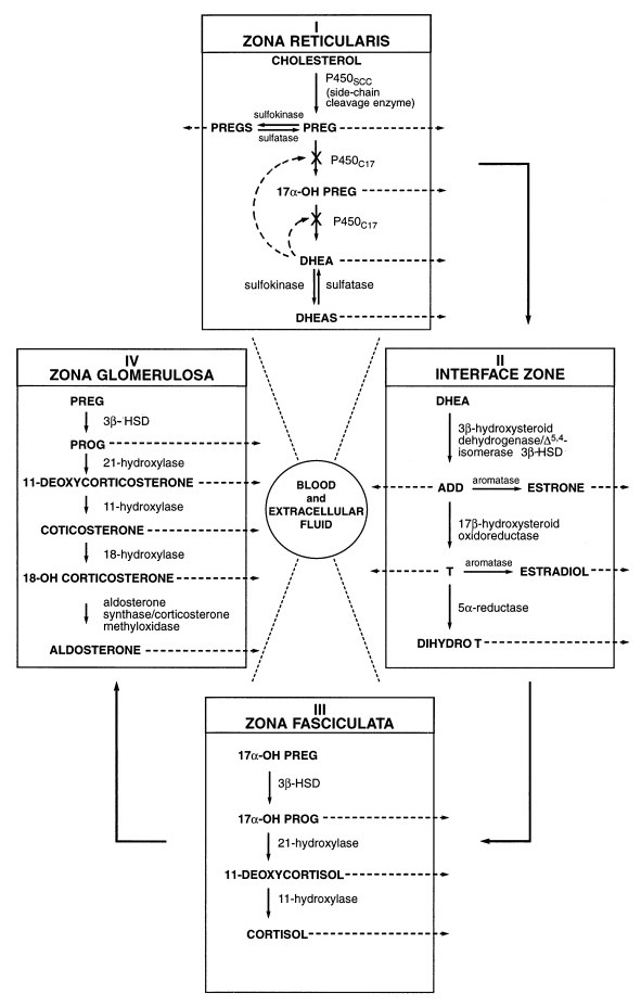
In Fig. 4 are shown outlines of the main features of steroid-synthetic repertoires proposed to be present in each of four functional zones in the human adrenal cortex. The innermost zona reticularis (Fig. 4-I) can only synthesize and release PREG, PREGS, 17α-OH PREG, DHEA, and DHEAS because it does not possess 3β-HSD activity, an enzyme present in all of the other adrenocortical zones. The hydroxylation of PREG by P450c17 and chain scission of 17α-OH PREG are both inhibited by DHEA; the hydroxylation reaction also may be inhibited by PROG.
Adrenocortical sex steroid synthesis occurs virtually entirely in the interface zone (Fig. 4-II). The DHEA required for this pathway can be synthesized indigenously in this layer by the same pathways as in the zona reticularis, derived from a plethoric supply of DHEA released from the contiguous zona reticularis, or from both sources. From it arise ADD, T, dihydro T, estradiol, and estrone.
Cortisol is formed in the zona fasciculata without the participation of DHEA (Fig. 4-III). Its synthesis begins with 17α-OH PREG, which requires 17α-hydroxylation of PREG by the P450c17, but not removal of the side-chain by the 17,20 lyase activity of P450c17.
The synthesis of aldosterone in the zona glomerulosa (Fig. 4-IV) does not require the participation of P450c17 at all.
From the above (also see data in Table 1), it can be surmised that the statistically significant age-related decreases in the blood of the steroids formed in the reticularis and interface zones, and not in cortisol or aldosterone, formed in the fasciculata and glomerulosa, respectively, are attributable somehow to inadequate chain-scission function of P450c17 in vivo. To date, no defects have been reported in the structure or catalytic activity of P450c17 as a function of adult age. Therefore, it seems that some other age-related change(s) may adversely affect the activity of P450c17 and not of the other enzymes indicated in Fig. 4. Many published studies support such a conclusion, but to my knowledge an adequate explanation has not been found.

Figure 4. Proposal for the quadripartite zonal production and secretion of adrenocortical steroids in humans. The DHEA, 17α-OH PREG, and PREG shown as starting compounds for hormone synthesis in zones II-IV, respectively, may be found within the particular zone or obtained from the extracellular fluid into which these substances are secreted by zone I.
Why are there monotonic age-related declines in serum dhea and dheas in human beings and in other primates?
Numerous hypotheses have been advanced in attempting to answer the above question [49, 50], but none has been entirely satisfactory in establishing a direct connection with some fundamental aspects of the aging process. I propose that the ratio of 17α-hydroxylase to 17,20 lyase activity of P450c17 may be determined by O2 availability. Molecular O2 is an obligatory substrate of all cytochrome P450 hydroxylases involved in steroid biosynthetic pathways. Cytochromes P450 all reduce atmospheric O2 with electrons from NADPH. Progressive deficiency of oxygen availability, an essential substrate in both the 17α-hydroxylase and 17,20 lyase activities of P450c17 (Fig. 5), may be a major cause of the monotonic age-related decline of adrenal biosynthesis of DHEA and DHEAS and of their delivery by endothelial cells into the circulation. The proposition is: adrenal arteriosclerosis → decreased adrenocortical circulation → O2 and glucose deficit → decreased O2-requiring synthesis of DHEA → eventual decrease in numbers of DHEA-synthesizing cells in the zona reticularis.

Figure 5. Requirement of O2 as substrate in the biosynthesis of 17α-OH PREG and DHEA by P450c17.
The zona glomerulosa relates to the arterial end of the capillary bed across the adrenal cortex, the interface zone and zona fasciculata relate to the middle portions, and the zona reticularis is closest to the venous end. I presume that availability of O2 and glucose decrease in the arteriovenous direction, the zona reticularis being the most poorly supplied with both. Therefore, the capacity to synthesize DHEA and DHEAS by P450c17 in parenchymal cells of the zona reticularis and to deliver them into the bloodstream would be most at risk. The mineralocorticoids and glucocorticoids formed upstream enter the reticularis region through the shared circulation and expose the cells therein to much higher concentrations of these steroids than eventually occur in the general circulation. Such effects would likely be of major consequence, making the existence of cells in this region unique in terms of their mineralocorticoid and glucocorticoid exposure. Such exposure is more prolonged than would occur in an ordinary flow-through system, since there probably is storage of steroids by a unique structure, the venous vascular dam, which contracts to release its steroidal contents into the bloodstream only when signaled to do so by a burst of ACTH [31, 32].
In addition to whatever trophic effects ACTH may exert, the heavy load of impinging cortisol might be a particularly great challenge to the health and welfare of the capillary endothelial cells and to the survival of the reticularis parenchymal cells (see, for example, Ref. 51). This is of utmost importance, since entry of O2, glucose, and other nutrients and growth factors must take place through the endothelial cells, as must the exit into the circulation of DHEAS, DHEA, and other factors made in the reticularis. Endothelial cells probably also exchange specific key signals with the zona reticularis cells, much as has been shown to be the case in the zona glomerulosa in which the endothelial cells transmit a factor to the parenchymal cells that enhances the secretion of aldosterone [52]. DHEA and DHEAS also may modulate growth of smooth muscle cells [53].
There seems to be little morphological or physiological knowledge of the effects of aging on the structure and function of the microvasculature in the reticularis region of the adrenal of healthy individuals, a matter of great potential interest.
The binding constants of O2 for the hydroxylase and 17,20 lyase activities of bovine P450c17 were found to be 22 and 66 [54], respectively, the affinity of O2 for the hydroxylase activity being considerably higher than for the lyase activity (Fig. 5). Assuming a similar relation to exist in the human adrenal, a low PO2 in the cells that converts PREG to 17α-OH PREG and thence to DHEA and DHEAS (Fig. 4-I) could lead to a decrement in capacity to produce DHEA and DHEAS and also to a dissociation between the 17α-hydroxylase and 17,20 lyase activities of P450ci7, so that relatively more 17α-OH PREG than DHEA would be formed per unit time. It can be envisioned, for example, that at some levels of O2 deprivation the 17α-OH compounds could be formed and released into the blood even when no DHEA or DHEAS would be formed at all. Increased metabolic activities occurring in the adrenal zones preceding the reticularis in the arterial tree, as upon ACTH stimulation of cortisol synthesis in the fasciculata, would make less O2 and glucose available to cells in the reticularis. Prolonged stress might severely compromise adrenal androgen synthesis in the zona reticularis by the onslaught of increased cortisol, itself [51].
There could be temporary and reversible decrements in the capacity to produce DHEAS and DHEA if some of the P450c17 -containing cells, pushed metabolically to extents that would cause them to exceed their apoptosis-resistance limits, eventually would die, be removed, and be replaced by mitosis of undamaged reticularis cells or by differentiation of resident stem cells. Progressive, irreversible agerelated decrements in capacity to produce DHEAS and related steroids would occur if replacement of dying cells by differentiation of stem cells, should they exist, would become attenuated by exhaustion of stem cell numbers because of imbalances arising between their self-reproducing and differentiative proclivities, pressures for the latter supervening.
When adrenal cortical secretion was stimulated by ACTH in anesthetized dogs, the increased O2 consumption that occurred was not accompanied by an increase in blood flow but rather by an increased rate of O2 extraction from the blood [55]. This means that an accelerated rate of dissociation of O2 from the Hb in erythrocytes must have taken place. Such dissociation could be achieved by acidification resulting from liberation of CO2 and lactic acid and/or other acidic metabolites from the ACTH-stimulated cells and by the decrease in ambient O2 resulting from increased utilization. Should the latter events occur in the outer cortical zones, less O2 would be available for dissociation from erythrocytes as they enter the zona reticularis. Under conditions of rest or of increased demand by ACTH stimulation, the O2 available from the partially O2-denuded erythrocytes still might be sufficient to support adequate production of DHEA and DHEAS by the two-step synthetic process in P450c17 -containing reticularis cells; but a delicate balance would exist. Even in the full vigor of early youth (e.g. 15-25 years), prolonged stress due to illness, injury, or environmental exigencies may embarrass the ability to form DHEA and DHEAS, the system not being able to cope with the demand; but cortisol synthesis remains essentially normal under such circumstances [5660].
We also must consider the gap junctions that exist among steroid-producing adrenal cortical cells. In in vitro experiments with the cortisol-producing cells, it was shown that intercellular communications among them through gap junctions increased sensitivity to stimulation by ACTH, much greater secretion of cortisol being elicited from them in response to low levels of ACTH in the presence of gap junctions than in their experimentally induced absence [61]. Let us assume that the above also holds true for the release of DHEAS by the cells of the zona reticularis in response to ACTH [62]. It was posited above that the structural logistics in the adrenal cortex are such that the PO2 in the zona reticularis is likely to be lower than in the zona fasciculata. In O2 deficit, production of lactic acid and other acidic substances would increase. Myriad studies in varying biological systems have shown that relatively slight acidification of the cytoplasm in the physiological range tends to uncouple gap junctions between cells (see, for example, Ref. 63). Uncoupling of gap junctions in the zona reticularis and not in the zona fasciculata would greatly favor cortisol release over that of DHEAS in response to a given increase in circulating ACTH.
A key question remains at to why DHEA and DHEAS levels are significantly lower at 40 years than at 25 years in preprandial morning blood samples (Table 2). Does the problem arise early only within the adrenal, itself, or is it compounded by changes occurring elsewhere? Relevant important information might be gained from consideration of the partner of the adrenal cortex in the O2 business, the erythrocyte. The erythrocytes that pass through a region of marginal O2 availability, such as we have envisioned the zona reticularis might be, must be at the ready to relinquish the O2 held by their Hb. For erythrocytes to be optimally equipped to do their jobs, their membranes must be in shape to allow free and extremely rapid diffusion of O2 and CO2 across them. They must contain a full complement of Hb in an excellent state of molecular repair. Maximal levels of DPG should be present, DPG being required to maintain Hb in an optimal configuration for unloading O2 to tissues. Evidence suggests that progressive aging changes take place in all of the above parameters. From the age of 20 years on, highly significant progressive surface changes in erythrocytes could be detected. Erythrocytes of old individuals showed consistently lower levels of intact Hb than did those of young donors. The changes in membrane properties and the Hb damage may be attributable, at least in part, to enhanced free radical and peroxidative damage occurring because of a progressive age-related decrease in superoxide dismutase activity in erythrocytes of older individuals. The loss of superoxide dismutase activity may result from selfdestruction of the enzyme by the products of its own activity because of age-related reductions in catalase, glutathione peroxidase, glutathione reductase, and glucose-6phosphate dehydrogenase activities. Significant decreases also occur in the content of DPG with the age of the erythrocyte donor [64-68].
Thus, progressive aging changes in erythrocytes together with the suggested naturally precarious state of oxygenation of the zona reticularis, its plethoric exposure to cortisol, and the presence of free radical metabolites of catecholamines arising from medullary chromaffin cells [69, 70] that are in intimate contact with zona reticularis cells and from exogenous sources [71] could lead to temporary or permanent functional and/or structural debilitation in the reticularis cells that could result in progressively lower activity of P450ci7 and also in decreases in cell numbers. This, in turn, would be reflected in decreased production of the 17α-OH PREG and of DHEA and with dissociation of rates of their formation, so that the following order of decreases would occur: DHEA > 17α-OH PREG > PREG (Fig. 2A; Table 2).
Androgen administration has long been know to increase erythrocyte production and survival, effects believed to be attributable to androgen-stimulated erythropoietin production and release and also to direct effects on hematopoietic cells, themselves. Androgens and their metabolites play regulatory roles in activities of hematopoietic stem cells at various stages of differentiation. Androgens also increase DPG levels by direct effects on circulating erythrocytes and exhibit salutary membrane effects, as reflected by decreased osmotic fragility [72-78].
What is to be done?
In light of the discussion in the preceding section, restoring normal levels of tissue O2 availability could be salutary when low O2 tensions exist, as when arteriosclerotic changes occur. For example, incoordinations in hypothalamo-hypophyseal and in adrenal cortical functionalities may increase with age as a result of progressive age-related arteriosclerotic changes in each of these tissues. Activities of the adrenal cortex are controlled hormonally and neurally to a considerable extent by hypothalamo-hypophyseal command signals, the extents and nature of which are sensitive to feedback signals from the adrenal cortex via products it produces and secretes into the bloodstream. Conjunctive dysregulation in aging could lead eventually to catastrophic organismic failure. If O2 availability were a rate-limiting factor in functional inadequacies in sending and receiving signals in the above relationships, then resupply of O2 should attenuate the destructive progression and also increase the adrenocortical output of DHEA and DHEAS, major adrenal secretions for the synthesis of which O2 is required as a substrate.
Improvement of oxygenation may be obtained with aerobic exercises and inhalation therapy. Nontoxic O2 carriers are being developed for intravenous clinical use [79] as are compounds that cross cell membranes and react allosterically with Hb to reduce Hb-O2 affinity and unload more O2 from Hb-O2 to hypoxic tissues [80]. Experiments are being planned to determine whether or not the above modalities will increase serum levels of DHEA and DHEAS.
It is possible to return reduced serum levels of BT and DHEAS in older individuals to those found in normal young adult males. Ingestion of moderate daily amounts of DHEA normalized reduced DHEA and DHEAS levels in males, but levels of total T were not changed [81]; nor was total T increased by daily feeding of 525 mg of PREG over a 3-month period.‡ High oral doses of DHEA actually reduced serum T levels [82]. In the above, serum levels were measured in the morning after an overnight fast. Intramuscular administration of T increases total serum T and BT [83]. From the above, it is anticipated that coadministration of DHEA and T in appropriately safe small amounts will make it possible to raise serum BT and DHEAS to normal young adult levels in individuals with age-related reduced levels. When this is achieved, it will be of great interest to determine whether or not decrements in some of the age-related hematopoietic properties and cognitive and physical measures will be reversed.
‡Roberts E and Miller B, manuscript in preparation.
There is reason to consider combining O2 therapy with appropriate administration of DHEA and testosterone in attempting to optimize steroid functionality in the aging male.
There probably was no natural selection for longevity per se, but selection for pluri-adaptive mechanisms that primarily improve reproductive efficacy could have occurred
Time’s arrow always has pointed in the direction of selection of characteristics that adapted a species to survival until it could at least reproduce its numbers. There may have been selection of self-destruct mechanisms that come into play at the cessation of the reproductive period, which would serve to remove organisms from competition for limited resources with the breeding population.
Decisions must be made as to how the metabolic flow should be fractionated between the mineralocorticoid, androgen-estrogen, and glucocorticoid pathways (Figs. 1 and 4). In the presence of tightly coupled, adequately operational control mechanisms, each of the above pathways receives all the precursors needed to produce sufficient quantities of the relevant substances to facilitate key processes at all levels of existence. This is what generally occurs in the vigor of youth. However, with aging and under conditions of stress, real or perceived, and in sick or injured organisms, priorities are established that first main tain essential functions for survival of an individual organism and only then for its reproductive activities.
Without generation of sufficient metabolic energy and its appropriate coupling to cellular functions, death would ensue. In stress related to serious illness, there is a shift in pregnenolone metabolism away from DHEA and DHEAS production to that of glucocorticoids, which are acutely necessary for survival by virtue of their roles in the control of energetics. Determination made before and after surgical removal of adrenocortical adenomas in patients in whom ACTH secretion presumably was suppressed by feedback inhibition by excess serum cortisol during the presence in them of the tumors suggested that a deficiency of ACTH may result in a long-lasting loss of the ability to secrete DHEAS rather than of the ability to secrete cortisol [2]. The mineralocorticoids have high priority because of their role in the maintenance of the delicate ionic balances between the cellular and extracellular environments. Survival in states of severe ionic imbalance may be even shorter than when energy supplies become limiting. The last in line would be the androgen-estrogen pathways, since reproductive activities are crucial for survival of a species, but not at all for any particular individual.
Bursts of gonadally formed sex steroids in seasonally mating species may be sufficient to support both the primary activities within the gonads and the coordinate secondary activities elsewhere in the organism necessary for consummation of successful mating. In primates, because of small numbers of offspring per mating, long gestation periods, and seasonally independent mating, it is advantageous to have the mating apparatus at the ready whenever opportunity arises. Available reservoirs of DHEA and DHEAS, which can give rise rapidly to the necessary sex hormones and perhaps, as suggested herein, also facilitate their entry and target them to receptive sites, would be ideally suited for this role. This was achieved by the development of DHEA and sex hormone producing cells in the zona reticularis of the adrenal cortex. This may have been a late evolutionary “add-on” so to speak, and not a well-defended one at that, since there are weak links existing in these cells because of their potentially tenuous O2 economy and exposure to barrages of cortisol and catecholamine-generated free radicals, as proposed above. It is this tentativeness that could couple the activities of the zona reticularis cells and, indeed their very existence to reproduction, since changes in physical, neural, or hormonal factors, separately or together, that signal cessation of the reproductive activity of the organism might lead to the progressive debilitation and eventual demise of the reticularis cells, to which incoordination of the functional yin-yang between DHEAS and cortisol contributes [84].
Although DHEA and DHEAS play multifactorial roles in physiology and are pleiotropic facilitators of many cellular processes, their most important function in evolutionary terms may be to furnish adrenally and gonadally formed testosterone and estrogens, which are necessary for effective reproductive activity and early care of offspring to
take place. T and DHEAS, and other substances to which they give rise, help meet the control needs of many tissues within the organism, making them cybernetically more effective and more resistant to malfunction during the reproductive period. Can we exploit safely and effectively aspects of the close partnership among them to increase the health and longevity of the human organism beyond the reproductive period more effectively than occurs now?
Shakespeare described the continent of sex and aging almost 400 years ago. We, as scientific cartographers, have been busy exploring its highways and byways. It is doubtful that our efforts will lead to the discovery of another continent. However, the information being generated can be most informative and useful.
References
Orentreich N, Brind JL, Rizer RL and Vogelman JH, Age changes and sex differences in serum dehydroepiandrosterone sulfate concentrations throughout adulthood. J Clin Endocrinol Metab 59: 551-555, 1984.
Parker LN, Adrenal Androgens in Clinical Medicine. Academic Press, New York, 1989.
Sonka J, Dehydroepiandrosterone. Metabolic effects. Acta Univ Carol [Med] (Praha) 71: 1-171, 1976.
Hornsby PJ, Biosynthesis of DHEAS by the human adrenal cortex and its age-related decline. Ann NY Acad Sci 774: 29-46, 1995.
Baulieu E-E, Dehydroepiandrosterone (DHEA): A fountain of youth? J Clin Endocrinol Metab 81: 3147-3151, 1996.
Bellino FL, Daynes RA, Hornsby PJ, Lavrin DH and Nestler JE (Eds.), Dehydroepiandrosterone (DHEA) and Aging. New York Academy of Sciences, New York, 1995.
Kalimi M and Regelson W (Eds.), The Biologic Role of Dehydroepiandrosterone (DHEA). Walter de Gruyter, Berlin, 1990.
Morley JE, Kaiser F, Raum WJ, Perry HM III, Flood JF, Jensen J, Silver AJ and Roberts E, Potentially predictive and manipulable blood serum correlates of aging in the healthy human male: Progressive decreases in bioavailable testosterone, dehydroepiandrosterone sulfate, and the ratio of insulin-like growth factor 1 to growth hormone. Proc Natl Acad Sci USA 94: 7537-7542, 1997.
Korenman SG, Morley JE, Mooradian AD, Davis SS, Kaiser FE, Silver AJ, Viosca SP and Garza D, Secondary hypogonadism in older men: Its relation to impotence. J Clin Endocrinol Metab 71: 963-969, 1990.
Manni A, Pardridge WM, Cefalu W, Nisula BC, Bardin CW, Santner SJ and Santen RJ, Bioavailability of albumin-bound testosterone. J Clin Endocrinol Metab 61: 705-710, 1985.
Nankin HR and Calkins JH, Decreased bioavailable testosterone in aging normal and impotent men. J Clin Endocrinol Metab 63: 1418-1420, 1986.
Vermeulen A, Verdonck L, Van der Straeten M and Orie N, Capacity of the testosterone-binding globulin in human plasma and influence of specific binding of testosterone on its metabolic clearance rate. J Clin Endocrinol 29: 1470-1480, 1969.
Cekan SZ, Xing S and Ritzen M, On the binding of steroid sulfates to albumin. Experientia 40: 949-951, 1984.
Fischer MJE, Bos OJM, van der Linden RF, Wilting J and Janssen LHM, Steroid binding to human serum albumin and fragments thereof. Role of protein conformation and fatty acid content. Biochem Pharmacol 45: 2411-2416, 1993.
Peters T Jr, All About Albumin. Academic Press, San Diego, 1996.
Romeu AM, Martino EE and Stoppani AOM, Structural requirements for the action of steroids as quenchers of albumin fluorescence. Biochim Biophys Acta 409: 376-386, 1975.
Romeu AM, Martino EE and Stoppani AOM, Structural requirements for steroid binding and quenching of albumin fluorescence in bovine plasma albumin. Biochim Biophys Acta 439: 175-193, 1976.
Wang DY and Bulbrook RD, Binding of the sulphate esters of dehydroepiandrosterone, testosterone, 17-acetoxypregnenolone and pregnenolone in the plasma of man, rabbit and rat. J Endocrinol 39: 405-413, 1967.
Frye CA, Van Keuren KR, Rao PN and Erskine MS, Progesterone and 3a-androstanediol conjugated to bovine serum albumin affects estrous behavior when applied to the MBH and POA. Behav Neurosci 110: 603-612, 1996.
Majewska MD, Neurosteroids: Endogenous bimodal modulators of the GABAA receptor. Mechanism of action and physiological significance. ProgNeurobiol 38: 379-395, 1992.
Roberts E and Matthysse S, Neurochemistry: At the crossroads of neurobiology. Annu Rev Biochem 39: 777-820, 1970.
Dilman VM, Ageing, metabolic immunodepression and carcinogenesis. Mech Ageing Dev 8: 153-173, 1978.
Denckla WD, Role of the pituitary and thyroid glands in the decline of minimal O2 consumption with age. J Clin Invest 53:572-581, 1974.
Everitt A and Meites J, Aging and anti-aging effects of hormones. J Gerontol 44: B139-B147, 1989.
Regelson W, Loria R and Kalimi M, Hormonal intervention: “buffer hormones” or “state dependency.” The role of dehydroepiandrosterone (DHEA), thyroid hormone, estrogen and hypophysectomy in aging. Ann NY Acad Sci 521: 260-273, 1988.
Scheller RH, Jackson JF, McAllister LB, Rothman BS, Mayeri E and Axel R, A single gene encodes multiple neuropeptides mediating a stereotyped behavior. Cell 32: 7-22, 1983.
Birren JE, Butler RN, Greenhouse SW, Sokoloff L and Yarrow MR (Eds.), Human Aging: A Biological Behavioral Study, Public Health Service Publ. No. 986. U.S. Government Printing Office, Washington, DC, 1963.
Sokoloff L, Cerebral circulatory and metabolic changes associated with aging. In: Cerebrovascular Disease, a publication of the Association for Research in Nervous and Mental Disease, vol. XLI, pp. 237-254. Williams & Wilkins, Baltimore, MD, 1966.
Globus M and Melamed E, Progressive age-related decrease in regional cerebral blood flow in healthy subjects. Isr J Med Sci 21: 662-665, 1985.
Roberts E, Senile dementia of the Alzheimer’s type: A possible cerebrovascular origin and some therapeutic suggestions. In: The Biological Substrates of Alzheimer’s Disease (Eds. Scheibel AB and Wechsler AF), pp. 241-266. Academic Press, Orlando, FL, 1986.
Dobbie JW and Symington T, The human adrenal gland with special reference to the vasculature. J Endocrinol 34: 479489, 1966.
Bassett JR and West SH, Vascularization of the adrenal cortex: Its possible involvement in the regulation of steroid hormone release. Microsc Res Tech 36: 546-557, 1997.
Dhall U, Cowen T, Haven AJ and Burnstock G, Perivascular
noradrenergic and peptide-containing nerves show different patterns of changes during development and ageing in the guinea-pig. J Auton Nerv Syst 16: 109-126, 1986.
Vise WM, Liss L, Yashon D and Hunt WE, Astrocytic processes: A route between vessels and neurons following blood-brain barrier injury. J Neuropathol Exp Neurol 34: 324-334, 1975.
Scheibel AB, Duong T and Tomiyasu U, Microvascular changes in Alzheimer’s disease. In: The Biological Substrates of Alzheimer’s Disease (Eds. Scheibel AB and Wechsler AF), pp. 177-192. Academic Press, Orlando, FL, 1986.
Issidorides MR, Neuronal vascular relationships in the zona compacta of normal and Parkinsonian substantia nigra. Brain Res 25: 289-299, 1971.
Harris AB, Structural and chemical changes in experimental epileptic foci. In: Epilepsy: A Window to Brain Mechanisms (Eds. Lockard JS and Ward AA Jr), pp. 149-164. Raven Press, New York, 1980.
Isaacson RL, Varner JA and Jensen KF, Toxin-induced blood vessel inclusions caused by the chronic administration of aluminum and sodium fluoride and their implications for dementia. Ann NY Acad Sci 825: 152-166, 1997.
Epstein MA, Packer RJ, Rorke LB, Zimmerman RA, Goldwein JW, Sutton LN and Schut L, Vascular malformation with radiation vasculopathy after treatment of chiasmatic/ hypothalamic glioma. Cancer 70: 887-893, 1992.
Dellmann H-D and Carithers J, Development of neural lobe-like neurovascular contact regions after intrahypothalamic transection of the hypothalamo-neurohypophysial tract. Brain Res 585: 19-27, 1992.
Hassler O, Vascular changes in senile brains. A microangiographic study. Acta Neuropathol (Berl) 5: 40-53, 1965.
Ravens JR, Vascular changes in the human senile brain. Adv Neurol 20: 487-501, 1978.
Chang E and Harley CB, Telomere length and replicative aging in human vascular tissues. Proc Natl Acad Sci USA 92:11190-11194, 1995.
Kay MMB, Band 3, the predominant transmembrane polypeptide, undergoes proteolytic degradation as cells age. Monogr Dev Biol 17: 245-253, 1984.
Symington T, Functional Pathology of the Human Adrenal Gland. E & S Livingstone Ltd., Edinburgh, 1969.
Meeker AK, Sommerfeld HJ and Coffey DS, Telomerase is activated in the prostate and seminal vesicles of the castrated rat. Endocrinology 137: 5743-5746, 1996.
Carr I, The human adrenal cortex at the time of death. J Pathol Bact 78: 533-541, 1959.
Wolkersdorfer GW, Ehrhart-Bornstein M, Brauer S, Marx C, Scherbaum WA and Bornstein SR, Differential regulation of apoptosis in the normal human adrenal gland. J Clin Endocrinol Metab 81: 4129-4136, 1996.
Miller WL, Molecular biology of steroid hormone synthesis. Endocr Rev 9: 295-318, 1988.
Miller WL, Auchus RJ and Geller DH, The regulation of 17,20 lyase activity. Steroids 62: 133-142, 1997.
Sapolsky RM, Glucocorticoid toxicity in the hippocampus: Reversal by supplementation with brain fuels. J Neurosci 6: 2240-2244, 1986.
Rosolowsky LJ and Campbell WB, Endothelial cells stimulate aldosterone release from bovine adrenal zona glomerulosa cells. Am J Physiol 266: E107-E117, 1994.
Yoneyama A, Kamiha Y, Kawaguchi M and Fujinami T, Effects of dehydroepiandrosterone on proliferation of human aortic smooth muscle cells. Life Sci 60: 833-838, 1997.
Chabre O, Defaye G and Chambaz EM, Oxygen availability as a regulatory factor of androgen synthesis by adrenocortical cells. Endocrinology 132: 255-260, 1993.
Sakima NT, Breslow MJ, Raff H and Traystman RJ, Lack of coupling between adrenal cortical metabolic activity and blood flow in anesthetized dogs. Am J Physiol 261: H410H415, 1991.
Parker L, Eugene J, Farber D, Lifrak E, Lai M and Juler G, Dissociation of adrenal androgen and cortisol levels in acute stress. Horm Metab Res 17: 209-212, 1985.
Parker L, Gral T, Perrigo V and Skowsky R, Decreased adrenal androgen sensitivity to ACTH during aging. Metabolism 30: 601-604, 1981.
Parker LN, Levin ER and Lifrak ET, Evidence for adrenocortical adaptation to severe illness. J Clin Endocrinol Metab 60: 947-952, 1985.
Parker LN and Odell WD, Control of adrenal androgen secretion. Endocr Rev 1: 392-410, 1980.
Vermeulen A, Deslypere JP, Schelfhout W, Verdonck L and Rubens R, Adrenocortical function in old age: Response to acute adrenocorticotropin stimulation. J Clin Endocrinol Metab 54: 187-191, 1982.
Munari-Silem Y, Lebrethon MC, Morand I, Rousset B and Saez JM, Gap junction-mediated cell-to-cell communication in bovine and human adrenal cells. A process whereby cells increase their responsiveness to physiological corticotropin concentrations. J Clin Invest 95: 1429-1439, 1995.
Xia Y and Wikberg JES, Localization of ACTH receptor mRNA by in situ hybridization in mouse adrenal gland. Cell Tissue Res 286: 63-68, 1996.
Spray DC, Harris AL and Bennett MVL, Gap junctional conductance is a simple and sensitive function of intracellular pH. Science 211: 712-715, 1981.
Glass GA, Gershon H and Gershon D, The effect of donor and cell age on several characteristics of rat erythrocytes. Exp Hematol 11: 987-995, 1983.
Glass GA, Gershon D and Gershon H, Some characteristics of the human erythrocyte as a function of donor and cell age. Exp Hematol 13: 1122-1126, 1985.
Kalofoutis A, Paterakis S, Koutselinis A and Spanos V, Relationship between erythrocyte 2,3-diphosphoglycerate and age in a normal population. Clin Chem 22: 1918-1919, 1976.
Purcell Y and Brozovic B, Red cell 2,3-diphosphoglycerate concentration in man decreases with age. Nature 251: 511512, 1974.
Sheiban E and Gershon H, Recognition and sequestration of young and old erythrocytes from young and elderly human donors: In vitro studies. J Lab Clin Med 121: 493-501, 1993.
Bornstein SR, Gonzalez-Hernandez JA, Ehrhart-Bornstein M, Adler G and Scherbaum WA, Intimate contact of chromaffin and cortical cells within the human adrenal gland forms the cellular basis for important intraadrenal interactions. J Clin Endocrinol Metab 78: 225-232, 1994.
Newcomer TA, Rosenberg PA and Aizenman E, TOPA quinone, a kainate-like agonist and excitotoxin, is generated by a catecholaminergic cell line. J Neurosci 15: 3172-3177, 1995.
Brandt I, Mohammed A, Lyden A and Slanina P, Disposition of some sulphur-containing hexachlorobenzene (HCB) metabolites: Affinity of methylsulphonylpentachlorobenzene for the gray matter of brain, the lungs and the adrenal zona reticularis. Acta Pharmacol Toxicol 54: 352-360, 1984.
Alexanian R, Erythropoietin and erythropoiesis in anemic man following androgens. Blood 33: 564-572, 1969.
Beran M, Spitzer G and Verma DS, Testosterone and synthetic androgens improve the in vitro survival of human marrow progenitor cells in serum-free suspension cultures. J Lab Clin Med 99: 247-253, 1982.
Fisher JW, Samuels AI and Malgor LA, Androgens and erythropoiesis. Isr J Med Sci 7: 892-900, 1971.
Levere RD, Gordon AS, Zanjani ED and Kappas A, Stimulation of mammalian erythropoiesis by metabolites of steroid hormones. Trans Assoc Am Physicians 83: 150-158, 1970.
Parker JP, Beirne GJ, Desai JN, Raich PC and Shahidi NT, Androgen-induced increase in red-cell 2,3-diphosphoglycerate. N Engl J Med 287: 381-383, 1972.
Singer JW and Adamson JW, Steroids and hematopoiesis. II. The effect of steroids on in vitro erythroid colony growth: Evidence for different target cells for different classes of steroids. J Cell Physiol 88: 135-143, 1976.
Solomon LR and Hendler ED, Androgen therapy in haemodialyis patients. II. Effects on red cell metabolism. Br J Haematol 65: 223-230, 1987.
Wahr JA, Trouwborst A, Spence RK, Henny CP, Cernaianu AC, Graziano GP, Tremper KK, Flaim KE, Keipert PE, Faithfull NS and Clymer JJ, A pilot study of the effects of a perflubron emulsion, AF 0104, on mixed venous oxygen tension in anesthetized surgical patients. Anesth Analg 82: 103-107, 1996.
Khandelwal SR, Randad RS, Lin P-S, Meng H, Pittman RN, Kontos HA, Choi SC, Abraham DJ and Schmidt-Ullrich R, Enhanced oxygenation in vivo by allosteric inhibitors of hemoglobin saturation. Am J Physiol 265: H1450-H1453, 1993.
Morales AJ, Nolan JJ, Nelson JC and Yen SSC, Effects of replacement dose of dehydroepiandrosterone in men and women of advancing age. J Clin Endocrinol Metab 78: 13601367, 1994.
Roberts E and Fitten LJ, Serum steroid levels in two old men with Alzheimer’s disease (AD) before, during, and after oral administration of dehydroepiandrosterone (DHEA). Pregnenolone synthesis may become rate-limiting in aging. In: The Biological Role of Dehydroepiandrosterone (DHEA) (Eds. Kalimi M and Regelson W), pp. 43-63. Walter de Gruyter, Berlin, 1990.
Morley JE, Perry HM III, Kaiser FE, Kraenzle D, Jensen J, Houston K, Mattammal M and Perry HM Jr, Effects of testosterone replacement therapy in old hypogonadal males: A preliminary study. J Am Geriatr Soc 41: 149-152, 1993.
Hechter O, Grossman A and Chatterton RT Jr, Relationship of dehydroepiandrosterone and cortisol in disease. Med Hypotheses 49: 85-91, 1997.