Britta Siekmann, Kirsten Westesen [1]
Institute of Pharmaceutical Technology, University of Braunschweig, D-38106 Braunschweig, Germany.
[1] Corresponding author.
Abstract
The recrystallization behaviour, the time course of polymorphic transitions, and the degree of crystallinity of melt- homogenized glyceride nanoparticle dispersions were investigated by differential scanning calorimetry (DSC). The results suggest that these properties of the nanoparticles are different from those of the glyceride bulk materials. Crystallization of the molten emulsified glycerides tripalmitate and hard fat in the dispersed state occurs about 20 °C lower than in the bulk. The melting temperature of the colloidal crystalline particles is lowered as much as 12 °C. Unambiguous interpretation of DSC thermograms is only possible using the information about the crystalline modification of the glyceride nanoparticles obtained by X-ray diffraction studies. The lower degree of crystallinity of the dispersed lipids compared to bulk materials is reflected in the reduced heat of fusion of the glyceride nanoparticles. The polymorphic transitions are accelerated in glyceride nanoparticles as compared to their bulk materials and the effect depends on the emulsifier and its concentration. The crystallinity index of hard fat nanoparticles is lower than that of tripalmitate nanoparticles. Incorporation of the model drug ubidecarenone into different lipid matrices resulted in a decreased crystallinity as well as in a delayed transition of residual α-polymorphic material into the stable β- polymorph. The latter effect was also observed for incorporation of glycerol monostearate. The DSC results can be explained in terms of the colloidal nature of the dispersions and the influence of foreign compounds such as emulsifiers, drugs and impurities.
Keywords: Colloidal glyceride dispersions; Crystallization in the dispersed state; Differential scanning calorimetry; Parenteral drug carrier system; Solid lipid nanoparticles.
1. Introduction
Recently, solid lipid nanoparticles based on physiological crystalline glycerides were introduced as an alternative intravenous delivery system for lipophilic drugs [1]. Lipid suspensions composed similarly to parenteral lipid emulsions tend, however, to form water-rich, semi-solid gels [1,2]. Stable lipid nanoparticles can be prepared by emulsification of molten glycerides in an aqueous phase by a change in the emulsifier composition [1,2]. The mean particle size of the glyceride nanoparticle dispersions typically ranges from 50 to 300 nm [1]. On cooling after melt- homogenization, the glycerides are supposed to recrystallize and form the solid carrier. The possible advantages of solid particles is their stability against coalescence and the reduced mobility of incorporated drug molecules preventing drug leakage from the carrier. In contrast to polymeric nanoparticles, the production of glyceride nanoparticles avoids the use of potentially toxic additives such as organic solvents or toxic monomers. Moreover, lipid nanoparticles are metabolized like nutritional glycerides so that toxic metabolites or accumulation of carrier material after repeated administration is unlikely.
Triglycerides exhibit a complex polymorphic . behaviour and can crystallize in three basic poly-morphic forms termed alpha (α), beta prime (β') and beta (β). Polymorphic transformations are monotropic and take place from α to β' to β, the last being the thermodynamically stable polymorph [3]. For complex glyceride mixtures such as hard fat suppository bases an intermediate crystal form (βi) between β' and β has been described [4,5].
Investigations on bulk triglycerides suggest that some emulsifiers can modify the crystal structure [6,7]. Previous studies on the physical state of dispersed glycerides by synchrotron radiation X-ray diffraction indicated that lipid nanoparticles stored for several weeks were in the β-crystalline (tripalmitate) or βi-crystalline modification (hard fat) at room temperature [8], but that recrystalli-zation of the glyceride carriers after melting differed from that of bulk material.
The aim of the present feasibility study was to find a correlation between X-ray diffraction results and thermoanalytical data in order to establish differential scanning calorimetry (DSC) as an alter-native method for systematic inspection of the crystallization of glyceride nanoparticles in process and quality control. Semi-quantitative analysis of DSC data should also provide a comparison between the degree of crystallinity of the glyceride nanoparticles and their bulk materials. The latter could be an important factor determining the final drug incorporation capacity of the carrier matrix, whereas the time course of recrystallization and polymorphic transitions may correlate with the time course of expulsion of incorporated drug from the glyceride crystal lattice.
2. Experimental
2.1. Materials
The following materials were used without further purification: Witepsol® W35 (Hills AG); Dynasan 116 (Hills AG); Tripalmitin, technical grade (Fluka); Tripalmitin, puriss. (Fluka); glycerol monostearate (Goldschmidt); ubidecarenone (Kabi Invent AB); soya lecithin, Lipoid S 100 (Lipoid KG); sodium glycocholate (Sigma); tyloxapol (Eastman Kodak); Pluronic F68 (BASF); glycerol (Chemie-Vertrieb CVH); thiomersal (Synopharm); bidistilled water.
2.2. Preparation of glyceride nanoparticles
The glyceride nanoparticles were prepared by homogenization (APV Gaulin Micron Lab 40) of the molten glycerides in a heated aqueous phase containing 2.25% glycerol and 0.01% thiomersal as described previously [1,8]. Phospholipids, tyloxapol, pluronics and sodium glycocholate were used as emulsifiers.
2.3. Photon correlation spectroscopy (PCS)
Particle size measurements were performed on a photon correlation spectrometer Zetasizer 3 (Malvern Instruments) at 90°. Samples were diluted with dust-free water to a scattering intensity of 100000 counts s-1. The size distribution of equivalent hydrodynamic spheres was calculated assuming spherical particles by the Malvern software using cumulant analysis and an exponential sampling method [9]. Mie correction could not be applied because crystalline materials are anisotropic, and the particle sizes were predominantly below that of Mie scattering. The mean particle size was calculated from the number distribution as the diameter of the equivalent hydrodynamic sphere. The values are the mean of five measurements of 120 s each.
2.4. Differential scanning calorimetry (DSC)
Measurements were performed on a calorimeter DSC 2-C connected to a Thermal Analysis Data Station 3700 (Perkin-Elmer, D-Uberlingen). Approximately 10 mg of the dispersion or 1-2 mg of the bulk material were accurately weighed into standard aluminium pans. An empty pan was used as a reference. The calibration graphs were obtained by accurately weighing concentrations between 0.5 and 10 wt.% of glyceride into standard pans, adding water to approximately 10 mg and weighing the pan after closing the cap. Thermograms were recorded from 283 to 343 K (hard fat) or from 293 to 353 K (tripalmitate). Unless otherwise specified samples were heated at a scan rate of 10 K min-1.
2.5. Synchrotron radiation X-ray diffraction
Measurements were performed as described previously [8] using the double focussing mono-chromator mirror camera X3 3 of the European Molecular Biology Laboratory (EMBL) in HASYLAB on the storage ring DORIS of the Deutsches Elektronen Synchrotron (DESY), Hamburg, Germany.
3. Results
3.1. Thermoanalytical characterization of bulk materials
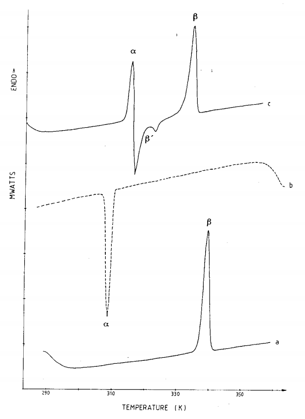
Typical thermal behaviour of saturated monoacid triglycerides can be described by DSC heating and cooling curves as presented in Fig. 1. Upon heating of thermally untreated pure tripalmitate (>99%, Tripalmitin puriss.) a single endotherm around 67 °C is observed corresponding to the melting of the stable β-polymorph (Fig. 1, curve a). On cooling from the melt, a single exotherm at approximately 37 °C indicates recrystallization of tripalmitate in the β-modification (Fig. 1, curve b). Reheating the solidified sample induces an endotherm for the α-form at approximately 44 ° C (Fig. 1, curve c). The endotherm turns over into an exothermal transition in which crystallization of the β'-polymorph, melting of the β'-polymorph and crystallization of the stable β-modification are superimposed. The differences between the transition temperatures of these thermal events are too small to resolve the corresponding peaks at a scan rate of 10 K min-1. On further heating, melting of the β-modifieation occurs as indicated by the endo- thermal transition peak (Fig. 1, curve c). The observed thermal behaviour is in agreement with DSC literature data [10]. The lower melting point and heat of fusion of the molten and recrystallized sample suggest that the polymorphic transitions during reheating are mot quantitative, resulting in a reduced crystallinity. Lattice imperfections progressively cure during storage. Complete transformation may, however, take several weeks or months at room temperature (see below).

Figure 1. DSC thermograms of pure tripalmitate (scan rate: 10 K minβ5 ). (Curve a) First heating scan of thermally untreated sample; (curve b) cooling scan after holding at 353 K for 15 min; (curve c) second heating after cooling the melt to 293 K and holding at this temperature for 15 min.
Due to production costs, the glyceride nanopar-ticles were prepared from less pure qualities employing the commerical products Tripalmitin, technical grade, and Dynasan 116, both of which are approximately 95% pure. The DSC behaviour of the less pure products upon melting, cooling and reheating is qualitatively equivalent to that of the pure sample, although there are some differences in transition temperature and heat of fusion (Table 1). These can be attributed to the presence of minor impurities such as monoglycerides and diglycerides as well as triglycerides with different chain lengths resulting in a depression of the melting temperature and a reduced heat of fusion. The results (Table 1) are in satisfactory agreement with experimental data [11] and empirically derived equations predicting the heat of fusion for the various polymorphs of even monoacid triglycerides [10].
Table 1. Thermoanalytical data of raw materials*.

The presence of minor amounts of monoglycer-ides and diglycerides, even at concentrations below 1%, can delay the formation of the stable fi- polymorph in triglycerides and to some extent preserve the α- and βi'-modifications [12,13]. Thus, melt-crystallized tripalmitate (Tripalmitin, technical grade) displays a pronounced β-peak on reheating after 2 weeks of storage. The proportion of the β-modification calculated from the heat of fusion is larger than 85%. Even in the presence of phos-pholipids which accelerate the polymorphic trans-formation into the β-modification [14], fractions of the α-polymorph can still be detected in the thermally stressed bulk material beside the β'- and β modifications after 3 months of storage (Fig. 2). After 5 months of storage the β'-modification repre-sents the major polymorph whereas the β-phase can no longer be detected.

Figure 2. DSC thermogram of melt-crystallized tripalmitate {Tripalmitin, technical grade) blended with 12 wt.% lecithin (Lipoid S 100). The thermogram was recorded after three months of storage (scan rate: 10 Kmin-1).
A thermally untreated sample of the hard fat- suppository base Witepsol W35, which represents a blend of monoglycerides, diglycerides and tri-glycerides of various carbon chain lengths, heated at a scan rate of 10 K min-1, gives a relatively broad endothermal peak with a maximum at 38-39° C corresponding to the intermediate β- polymorph (ft.) characteristic of complex glyceride mixtures [4]. The heat of fusion (142.6 J g-1) is in agreement with the values given by Thoma and Serno [15] (138-146 J g-1). The βi melting peak has a peak shoulder indicating the presence of the lower melting metastable β'-polymorph. Complete transformation of β' into βi takes several years at room temperature [15]. After cooling and reheating (scan rate; 10 K min-1), the DSC thermogram of hard fat displays two endotherms at 18-19 °C and 31-32 C corresponding to the melting of the α- and β'-polymorphs. The heat of fusion of the freshly crystallized β'-modification is approxi-mately 79 J g-1.
3.2. Thermoanalysis of the recrystallization process of glyceride nanoparticles
The particle sizes of the glyceride nanoparticle dispersions investigated here range from approxi mateiy 70 to 200 nm as calculated from PCS data. Size data and typical compositions of glyceride dispersions of the systems selected for quantitative DSC measurements are given in Tables 2 and 3. The phase transitions during recrystallization of glyceride nanoparticles were first investigated qual-itatively by differential scanning calorimetry. The effect of emulsifying agents on recrystallization of hard fat and tripalmitate nanoparticles as well as the time course of recrystallization and polymor-phic transformations were also investigated.
Table 2. Composition and experimental results of tripalmitate carrier systems.

Table 3. Composition and experimental results of hard fat carrier systems.

3.2.1. Hard fat dispersions
DSC thermograms of hard fat dispersions con-taining 10 wt.% fat are inconsistent in the temper-ature interval from 20 to 80 0 C. Some of the thermograms recorded within 7 days after prepara-tion of the dispersions do not reveal any thermal event, whereas others have only relatively small and broad transition peaks without pronounced maxima suggesting a delayed recrystallization of the dispersed glyceride at room temperature.
In the thermograms recorded from 0 ° C onwards recrystallization of the hard fat is induced by supercooling, and reproducible thermograms can be obtained. The emulsifier has a considerable influence on the shape of the DSC curve (Fig. 3). Dispersions stabilized by phospholipids only (Fig. 3, curve a) which tend to form gel-like semisolid systems display a relatively sharp endotherm at 32-33 °C. This melting point corresponds to the β'-modification of the raw material. The spac- ings of these gel-like hard fat systems in X-ray diffraction indicate, however, that the systems are in the βi-modification [8]. The endothermal peak in DSC must thus be assigned to the βi-modification of the lipid.

Figure 3. DSC thermograms of 10 wt.% hard fat dispersions containing different emulsifiers: (curve a) stabilized by 1.2 wt.% lecithin; (curve b) stabilized by 1.2 wt.% lecithin and 0.4 wt.% sodium glycocholate. The thermograms were recorded within 7 days after preparation (scan rate: 10 K min-1*).
Hard fat dispersions stabilized by a phospholi-pid-bile salt blend display a broad transition peak in DSC ranging from 12 to 32 CC with two or more hardly defined maxima (Fig. 3, curve b). The onset temperature is about 10 K below that of systems stabilized by phospholipids only. This suggests a coexistence of metastable α- and β'- polymorphs beside the stable βi-modification. Sodium glycocholate seems to have the opposite effect to the phospholipids, leading to a delayed polymorphic transformation.
To follow the time course of recrystallization and polymorphic transitions, DSC thermograms of a phospholipid-bile salt stabilized 10% hard fat dispersion were recorded at different times. Freshiy prepared dispersions do not display any thermal transition in the thermograms between 20 and 60 °C. Recrystallization can be induced by recording the thermograms from 0°C onwards and the resulting thermogram then has a very broad peak like that in Fig. 3, curve b. After several days of storage at 4 °C, thermograms recorded from 20 to 60 °C display a much sharper transition peak with a distinct maximum around 31 °C and a shoulder on the low temperature side (Fig. 4). Obviously, cold storage results in accelerated recrystallization of the hard fat nanoparticles and formation of the βi-modification. The shoulder indicates the pres-ence of other metastable polymorphs, particularly the β'-form. After 3 months of storage at 4 0 C the peak shape of the DSC curve does not change significantly, but the heat of fusion of the colloidal hard fat crystals is increased by more than 30% (from 7.9 to 10.7 J g-1).

Figure 4. DSC thermogram of a phospholipid-bile salt stabilized 10% hard fat dispersion stored at refrigeration temperature for 14 days (scan rate: lOKmin-1).
DSC studies of the recrystallization process of hard fat nanoparticles after melting and slow cool-ing were performed simulating the thermal condi-tions after preparation of the glyceride dispersions by selecting a cooling rate of 1 K. min-1. The colloidal hard fat dispersions were first heated to 45 C at a scan rate of 10 K min-1, held there for 15 min, and then cooled down slowly to 5 CC at a scan rate of 1 K min-1. The bulk material was exposed to a similar treatment.
Under these thermal conditions, bulk hard fat displays two weak recrystallization peaks in DSC with maxima at 27.7 and 17.2 °C. The onset tem-peratures of 29 and 20 °C correlate well with the appearance of spacings corresponding to the β'- and the βi-modifications in time-resolved X-ray diffraction which indicated that bulk hard fat recrystallizes in the β'-modification at approxi-mately 30 °C and transforms rapidly into the βr polymorph at approximately 20 °C [8].
The DSC thermogram of the 10% hard fat dispersion indicates that the glyceride nanoparticles have a different thermal behaviour from the bulk material. The DSC cooling curve displays only one recrystallization peak at 8.2 °C that correlates with the appearance of a reflection at 0.415 nm in time-resolved wide angle X-ray diffraction patterns corresponding to the β-modification of hard fat [8]. Higher supercooling is thus required to recrystallize the dispersed hard fat compared to the bulk material, and recrystallization occurs in different polymorphic forms.
3.2.2, Tripalmitate dispersions
Like hard fat dispersions, those of tripalmitate also reveal differences in their thermoanalytical behaviour depending on the emulsifier composi-tion. Tripalmitate dispersions stabilized by phos-pholipids only form ointment-like semi-solid gels directly after preparation. The DSC thermograms of these gels recorded from 20 to 9.0 ° C display a sharp endothermal peak around 56-57 CC (Fig. 5, curve a). The transition temperature corresponds to the melting point of the β'-modification of bulk tripalmitate, but X-ray diffraction clearly demon-strates that the gels are in the βi-crystalline state [8]. Thus the melting point of the phospholipid stabilized tripalmitate systems is 9"C below that of the bulk /-polymorph.

Figure 5. DSC thermograms of 10 wt.% tripalmitate dispersions containing different emulsifiers: (curve a) stabilized by 1.2 wt.% lecithin; (curve b) stabilized by 1.2 wt.% lecithin and 0.4 wt.% sodium glycocholate. The thermograms were recorded within 7 days after preparation (scan rate: 10 K min-1).
DSC thermograms of phospholipid-bile salt sta-bilized tripalmitate dispersions recorded within 7 days after preparation display two endothermal transition peaks (Fig. 5, curve b). Besides a peak around 54 °C corresponding to the β-modification as determined by X-ray diffraction [8], there is a smaller one around 40 °C which can be assigned to the β-modification of tripalmitate. The melting point depression of the β-modification amounts to 11-12 °C compared to the bulk material. Exothermal transitions associated with the crystal-lization of the β'- and β-polymorphs cannot be detected. This is probably a result of the decreased temperature range available for these thermal events due to the melting point depression of the colloidal crystals. In bulk tripalmitate the temper-ature range between melting of the α- and β- modifications is 23 °C whereas in the colloidal dispersions it is only 14 °C. At a scan rate of 10 K min-1the time is too short for complete crystal-lization so that these phase transitions are passed over. The shoulder of the S-peak points to the presence of residual amounts of the β'- modification. Comparison of the heats of fusion of the α- and β-peaks indicates that the β-form is only a minor component of the dispersions, the β- polymorph being the predominant modification. Using co-emulsifiers other than bile salts, such as the nonionic polymeric surfactant tyloxapol or block copolymers of the poloxamer type, yields thermograms similar to those of the bile salt con-taining systems, displaying a more or less pro-nounced 2-peak after preparation.
Freshly prepared tripalmitate dispersions produced without phospholipids, e.g. by stabilization with bile salts only, give DSC thermograms with a very pronounced 2-peak (Fig. 6, curve a). Comparison of the heat of fusion of the dispersion 3.5 J g-1) with that of the bulk material (Dynasan 116, AHa = 117.9 J g-1*), yields a proportion of the α-phase in the bile salt stabilized tripalmitate dispersions of approximately 30% related to the fat concentration. Although the polymorphic transformation into the stable βpolymorph is delayed in the absence of lecithin, it is not suppressed, since after 7 days of storage at 4°C the α-phase transition peak can no longer be resolved by DSC (Fig. 6, curve b). There is only a shoulder in the β-peak pointing to the presence of small residual amounts of the metastable α- and β-polymorphs.

Figure 6. DSC thermograms of a dispersion of 10 wt.% tripalmitate and 1.2 wt.% sodium glycocholate: (curve a) 2 h after preparation; (curve b) stored at 4°C for 7 days (scan rate: 10 K min -1J.
Although lecithin stabilized tripalmitate disper-sions containing a co-emulsifier, or tripalmitate dispersions without lecithin, display a delayed polymorphic transition of the β-form into the stable β-modification, these transformations still proceed faster in the dispersions than in the bulk material.
Drug-loaded triglyceride nanoparticles yield DSC thermograms which are similar to those of the drug free dispersions. The β-modification is the major fraction but there is also a more or less pronounced β-polymorphic transition peak. There is, however, a significant delay of the polymorphic transformation of the β-phase into the β-poly morph in the drug containing dispersions pointing to an impaired reorientation of the triglyceride molecules in the presence of drug molecules included in the triglyceride crystal lattice. No influence of incorporated drug on the melting point of the dispersed glycerides could be observed.
Determination of the recrystallization temper-ature after melting, holding at 80 °C for 15 min and slow cooling at a scan rate of 1 K min-1yielded a recrystallization exotherm of the bulk tripalmitate around 41.3°C with an onset temperature of 42.2°C. In contrast, under these thermal conditions (simulating the cooling of the dispersions after preparation) phospholipid-bile salt stabilized tripalmitate nanoparticles recrystallize at 20.2 °C with an onset temperature of 21.3 °C. In accordance with the results obtained on hard fat dispersions, the dispersed tripalmitate nanoparticles require more supercooling than the bulk material.
3.3. Time course of recrystallization of tripalmitate dispersions
The time course of recrystallization and poly-morphic transformations in phospholipid-bile salt stabilized tripalmitate dispersions was monitored by DSC over a period of 15 months. The dispersion consisted of 10% tripalmitate, 2.4% lecithin and 0.4% sodium glycocholate in an aqueous phase, and was stored at 4 c C. The heats of fusion of the different polymorphs detected at different time intervals are presented in Table 4. The thermo-grams were recorded from 20 to 80 CC at a scan rate of 10 K min-1. In contrast to hard fat nano-particles, recrystallization of tripalmitate systems can already be detected 2 h after preparation. Most of the triglyceride matrix is present in the β- modification with minor amounts of the α-form.
Table 4. Heat of fusion determined by DSC® at different time intervals of a 10% tripalmitate dispersion stabilized by 2.4% phospholipids and 0.4% sodium glycocholate.

After two weeks of storage at 4 °C the α-polymorph has been completely transformed into the stable β- modification. The heat of fusion of the β-modification increases continuously reaching a plateau around 20 J g-1after 60 days. This value corresponds approximately to the theoretical value of a 10% dispersion of the bulk triglyceride in the aqueous phase or, respectively, to about 10% of the heat of fusion of the powdered bulk glyceride.
3.4. Thermoanalytical determination of the crystallinity index of glyceride nanoparticles
In an attempt to measure the degree of crystal-linity of the glyceride nanoparticles and to estimate the proportion of recrystallized lipid, a recrystalli-zation index was calculated from the heat of fusion determined by DSC. In the first step, calibration graphs of the raw materials macroscopically sus-pended in water at different concentrations from 0.5 to 10 wt.% were set up by plotting the heat of fusion against the glyceride concentration. The correlation coefficients R2 of the best fit graphs were 0.989 for tripalmitate (Tripalmitin, technical grade) and 0.997 for hard fat (Witepsol W35).
Quantitative DSC studies were performed on drug loaded and drug free carrier systems. Prior to DSC examination the carrier systems had been stored for 4-6 weeks at room temperature. The hydrophobic drug ubidecarenone (coenzyme Q10) was incorporated as a model drug substance at different concentrations ranging from 2 to 10 wt.% related to the fat phase which represented 10 wt.% of the aqueous dispersion. Carrier matrices com-prising hard fat, tripalmitate and a tripalmitate- monostearate blend (weight ratio 19:1) were inves-tigated. The glyceride nanoparticles were stabilized by an emulsifier combination of phospholipids and sodium glycocholate. The X-ray diffraction pattern of the carriers was determined by small and wide angle X-ray diffraction. In DSC experiments the dispersions were heated from 20 to 60 °C (hard fat carriers) or 80 °C (tripalmitate carriers), respec-tively, at a scan rate of 10 K min-1.
The crystalline fat concentration of the disper-sions was derived from their heats of fusion using the calibration graphs. Any contribution of phos-pholipids incorporated in the glyceride matrix to the heat of fusion was neglected. If an α-peak was detected, the corresponding fat proportion was approximated from the heat of fusion AHa of the raw material (see Table 1). The fat content thus determined was then related to the initial fat concentration used when preparing the dispersions, and was expressed as the percentage of recrystal- lized glyceride (recrystallization index, RI). The composition, the mean particle size and the experi-mental data of the glyceride dispersions are sum-marized in Tables 2 and 3.
A recrystallization index of 100% corresponds to a completely recrystallized glyceride matrix with the same degree of crystallinity as the thermally unstressed bulk material. In the glyceride disper-sions the recrystallization index ranged from 72.5 to 96.5% for tripalmitate carriers and from, 15.5 to 85.6% for hard fat carrier systems after approxi-mately 4-6 weeks storage at room temperature. The recrystallization index seems to depend on the emulsifier concentration, the incorporation of drugs, the matrix composition, and the storage temperature. It is generally lower in systems con-taining 2,4 wt.% lecithin than in those containing 1.2 wt.% lecithin. The index of tripalmitate carriers seems to be reduced by blending the tripalmitate with 5% of glycerol monostearate (GMS) which also increases the α-phase fraction. In the series of drug loaded glyceride dispersions the recrystalliza-tion index decreases with increasing concentration of ubidecarenone whereas the α-phase fraction has no clear trend. Incorporation of ubidecarenone results in a much reduced crystallinity of the drug loaded hard fat carriers as indicated by the low values of their indices.
4. Discussion
A comparison of the melting-points of hard fat and tripalmitate dispersions with those of polymor-phic forms of their bulk materials is presented in Table 5. The thermoanalytical data suggest that the dispersed glycerides are present in the T-form. Synchrotron radiation X-ray diffraction demon-strated, however, that the lipid carrier systems were in the β-modification (Tables 2 and 3). Thus, exact interpretation of DSC thermograms of the glyceride nanoparticles and correct assignment of poly-morphic forms require a priori knowledge about the crystal modifications. The correct assignment of the crystal modification is the basis for the evaluation of the time course of polymorphic trans-itions and the calculation of the recrystallization index from the thermoanalytically determined heat of fusion.
Table 5. Thermoanalytical data of bulk glycerides and their colloidal dispersions.

The melting point of hard fat nanoparticles (β- modification) is decreased by 7-8 CC compared to the bulk glyceride that of tripalmitate nanoparticles (βimodification) by up to 12° C. The melting point depression can partly be attributed to the presence of phospholipids. It was found that lecithin in concentrations of 12 and 24% related to the glycer-ide content decreases the β-melting point of bulk tripalmitate by 2-4°C (data not shown).
Another reason for the decreased melting point of the glyceride nanocrystals lies in their colloidal dimensions. Crystals in the nanometer size range have a large surface-to-volume ratio. The glyceride molecules close to the surface are in a higher energetic state than in the bulk. The excess pressure or solubility, respectively, experienced by the colloidal solid as predicted by the Kelvin equation increases its chemical potential [16]. As a result, small crystals melt at a lower temperature than the bulk. The melting point T of small crystals of radius r can be derived from the modified Thomson equation [16]: In(T/T0) = 2yV/rΔHfus (1) where T0 is the melting point of the bulk material, y represents the interfacial energy and ΔHfus is the molar heat of fusion.
Induction of recrystallization of both hard fat and tripalmitate dispersions requires more super-cooling than in bulk material. The supercooling amounts to approximately 20 'C below that of the bulk glycerides in both cases. As a result of the higher supercooling required for nueleation, iso-thermal recrystallizatiori of hard fat nanoparticles is considerably retarded at room temperature. In contrast, the required supercooling of tripalmitate dispersions is clearly reached at room temperature. Unlike tripalmitate systems, hard fat nanoparticles can be regarded as dynamic structures. This is of special interest as regards evaluation of the capacity to incorporate drugs and to keep them incorporated during storage.
The emulsifier has a pronounced effect on the recrystallization process of hard fat and tripalmitate dispersions. Freshly prepared glyceride dispersions stabilized by phospholipids only display a single transition peak in the DSC thermogram corresponding to the βr or β-modification. In contrast, in the presence of a co-emulsifier such as sodium glycocholate, tyloxapol or poloxamers, a more or less pronounced α-melting peak can also be detected. In general, the α-phase is transformed into more stable polymorphs within days or weeks. Obviously, phospholipids accelerate the polymor-phic transformation into the β or β-modification, and this effect is reduced in the presence of co-surfactants. Tentatively, this phenomenon can be interpreted as an epitaxical effect of the phos-pholipids due to the structural similarity of the carbon chains of phospholipids and triglycerides. As a result, the reorganization of the crystal lattice associated with the polymorphic transformation is facilitated. In the presence of co-emulsifiers without such structural similarities the epitaxical effect of the phospholipids is less pronounced since the particle surface is covered by a mixed layer of surfactants. As a result, the α-form is preserved for a longer period.
An α-preserving effect can also be observed when foreign molecules such as drugs or matrix additives (e.g. GMS) are incorporated into the glyceride nanoparticles. Obviously, the conformational changes of the glyceride molecules during the polymorphic transformation are impaired in the presence of foreign molecules. A similar effect is also described for bulk triglycerides. Small amounts of monoglycerides and diglycerides as well as certain solid emulsifiers are known to stabilize the metastable α- and β'-polymorphs in bulk triglycerides [12,13].
In comparison to the bulk glycerides, polymor-phic transformations proceed faster in the glyceride nanoparticles. This result may be attributed to the small size of the nanocrystals. According to Dafier [17] the transition from one polymorph to another can be regarded as a jump process with the jump probability given by a Boltzmann factor P (β'/β) = exp (—E/kT) where P (β'/α) is the probability of a glyceride molecule jumping from a stable α-lattice location to a βi-lattice location, E is the difference in energy of the two lattice positions, k is Boltzmann’s constant, and T is the absolute temperature. Accordingly, the rate of transition depends on the energy difference of the crystal lattices of different polymorphs. This energy difference is decreased in dispersed glycerides compared to their bulk materials. Moreover, it is assumed that grain boundaries provide a “working space” for small scale expan-sion or relief of lattice strain generally associated with the reorientation of the molecules during polymorphic transformation [17]. Consequently, a high density of grain boundaries as found in the glyceride nanoparticle dispersions will permit easier relief of strain induced by lattice rearrangements, resulting in a faster phase transition.
Semi-quantitative interpretation of DSC data based on the comparison of the heat of fusion of glyceride nanoparticles and their bulk materials permits the calculation of a recrystallization index (RI). The RI value of 100% found for a tripalmitate dispersion after several months of storage at 4°C may be an overestimate of the degree of crystall-inity of the nanoparticles. The heat of fusion associated with the melting of the glyceride nanoparticles does not reflect exclusively the melting of the pure triglycerides but also that of the particle bound (intercalated) phospholipid moieties. Phospholipids may be partly incorporated in the core material and in the particle interface. The contribution of the phospholipid (chain) melting to the heat of fusion is, however, not accounted for in the approximate calculation of the recrystallized fat concentration. The calibration graphs were set up from macroscopic suspensions of phospholipid-free triglycerides because the exact amount of phospholipids incorporated in the glyceride particles is unknown.
A possible reason why the RI values of the glyceride dispersions stored for 4-6 weeks at room temperature are generally below 100% may be that recrystallization in the nanoparticles is still incom-plete after 4-6 weeks resulting in the coexistence of crystalline and amorphous fractions of the fat. In this case, it would be likely that larger particles are completely recrystallized whereas very small particles are still amorphous at a given temperature since the latter require more supercooling due to the size effect. As a consequence, particles recrystallize one by one according to their size, and the tz-polymorph (recrystallizing form) should be detectable beside the β-modification as long as recrystallization is incomplete. Such a behaviour was observed for hard fat dispersions but not for (pure) tripalmitate systems.
An additional reason explaining the reduced heat of fusion of the glyceride nanoparticles after 4-6 weeks of storage may be a high concentration of lattice imperfections in the colloidal crystals resulting in a lower crystal order than in the bulk phase. This high mosaicity was suggested by the broad X-ray reflections [8] and the broad DSC transition peaks. If this mechanism represents the major reason for a reduced RI value, no x-modifi- cation should be detectable except immediately after preparation when recrystallization takes place in the α-polymorph. Such a behaviour was observed, e.g. for tripalmitate dispersions after more than 5 days of storage (Table 4). The increase of the heat of fusion of the glyceride dispersions with storage time can then be interpreted as a progressive annealing of the crystal lattice and different RI values can be attributed to differences in the crystal order. The RI value thus represents a measure of the crystallinity of the dispersed glycerides compared to the bulk fat.
Some trends can be derived from the comparison of the RI values of different systems. In general, RI values of tripalmitate dispersions are higher than those of the corresponding hard fat s> stems.
The dispersions with a higher phospholipid content have lower RI values after 4-6 weeks of storage at room temperature. Since prior to homogenization the lecithin is dispersed in the glyceride melt it can be assumed that a small portion of the lecithin molecules will remain in the glyceride phase and thus be incorporated into the glyceride lattice on recrystallization of the fat, creating lattice imperfections. Moreover, a particle size effect cannot be excluded since the dispersions with the higher lecithin content have a smaller mean particle size and thus a higher surface-to- volume ratio which would also decrease the heat of fusion.
Blending tripalmitate with glycerol monostearate (GMS) also results in decreased RI values compared to the pure tripalmitate matrix. Moreover, GMS apparently exhibits an ot-preserv- ing effect. X-ray data point to the inclusion of GMS in the triglyceride crystal lattice without any changes of the crystallographic dimension. As a result of the defects in the triglyceride lattice cre-ated by incorporation of GMS, the degree of crystallinity is reduced. The α-polymorph is stabi-lized in these systems, since the presence of GMS in the tripalmitate lattice impairs and thus delays the configurational changes of the triglyceride molecules associated with the polymorphic trans-ition. This observation was also described by Aronhime et al. [18] for bulk triglycerides.
Incorporation of the model drug ubi decare none also results in'the delay of the α-/β transformation of tripalmitate dispersions. The crystallinity of the drug loaded carrier systems generally decreases with increasing ubidecarenone concentration. DSC and X-ray data point to the inclusion of the drug in the glyceride lattice thereby reducing the crystal order of the matrix due to the increase of defects. Incorporation of ubidecarenone into hard fat carrier systems leads to a dramatic decrease of the crystallinity pointing to either an extreme distortion of the hard fat crystal lattice or an additional delay of fat recrystallization by the drug resulting in the presence of amorphous fat droplets coexisting with crystalline particles. From the present experimental results it is not possible to differentiate unambiguously between the presence of amorphous fat and tile effects of the disturbed crystalline order. Hints may be obtained from monitoring the presence of x-polymorphic fractions with time. The significance of the 2-phase as an indicator of successive recrystallization is, however, limited because the α-/β transition rate is affected by a number of parameters such as particle size, type/amount of emulsifier and presence of foreign compounds. Nuclear magnetic resonance (NMR) spectroscopy is currently being evaluated-as a more direct mea-sure of the supercooled liquid portion in colloidal glyceride dispersions.
Knowledge of the crystallinity is of special rele-vance to evaluate the incorporability of lipophilic drugs into the glyceride matrix. It can be assumed that the chances of including foreign molecules, in particular those with a completely different struc-ture from the matrix glycerides, decrease with increasing order of the crystal lattice of the fat matrix. A drug that first appears to be incorporable in the glyceride nanoparticles, can be expelled from the matrix on recrystallization of the glyceride because it does not fit into the crystal lattice, resulting in the precipitation of the drug in the aqueous phase. Expulsion of the drug from the glyceride lattice may also occur during polymor-phic transitions since the crystal order is generally increased in the higher melting polymorphs, or during annealing of the crystal lattice, in particular if the drug is located in lattice defects. In the above mentioned context, an estimation of the periods of time required for recrystallization and polymorphic transitions is essential.
5. Conclusions
Thermoanalysis revealed differences regarding the recrystallization behaviour, the melting temper-atures, the time course of polymorphic transitions, and the degree of crystallinity of the colloidal dispersions of melt-homogenized emulsifier stabi-lized glyceride nanoparticles and the bulk glycer-ides. These differences can be attributed to the dispersed state, the presence of emulsifiers and drugs, and the high surface-to-volume ratio of the glyceride nanocrystals.
It can be concluded that differential scanning calorimetry is a convenient routine method in process and quality control for characterizing glyc-eride nanoparticle dispersions. In addition, DSC allows systematic studies on crystallization and polymorphism of dispersed glycerides provided other methods such as X-ray diffraction are con-sulted to assure correct assignment of polymorphic modifications. Semi-quantitative interpretation of DSC thermograms permits estimation of the crys-tallinity of the dispersed glycerides.
Acknowledgements
The financial support of this research work , by Pharmacia Oncology/Immunology, Helsinborg. Sweden, is gratefully acknowledged. We thank Htils AG, Witten, Germany and Lipoid KG, Ludwigshafen, Germany, for the donation of raw materials. The authors thank Dr. Michel Koch, European Molecular Biology Laboratory (EMBL), Hamburg Outstation c/o DESY, Hamburg, Germany, for critical revision of the manuscript.
References
B. Siekmann and K. Westesen, Pharm. Pharmacol. Fett, 1 (1992) 123.
K. Westesen and B. Siekmann, Eur. J. Pharm, Biopharm., 40(1994) 353.
N. Garti and K. Sato, Crystallization of Fats and Fatty acids, Marcel Dekker, New York, 1988.
K. Larsson, Acta Chem. Scand., 20 (1966) 2255.
K. Thoma, P. Serno and D. Precht, Pharm. Ind., 45 (1983) 420.
N. Garti, E. Wellner and S. Sarig, J. Am. Oil Chem, Soc.. 59 (1982) 181.
N. Garti, J'.S. Aronhime and S. Sarig, J. Am. Oil Chem. Soc, 66 (1989) 1085.
K. Westesen, B. Siekmann and M.H.J. Koch. Int, J. Pharm, 93 (1993) 189.
F. McNeil-Watson and A. Parker, in R.A. Williams and N.C. de Jaeger (Eds.), Advances in Measurement and Control of Colloidal Processes, Butterworth-Heinemann, Oxford, 1991, pp. 421-434.
J.W. Hagemann, in N. Garti and K. Sato (Eds,). Crystallization and Polymorphism of Fats and Fatty Acids, Marcel Dekker, New York, 1988. pp. 9-95.
J.W. Hagemann and J.A. Rothfus, J. Am. Oil Chem. Soc.. ЛГ> nova) j ipa
L. Hernqvist and K. Anjou, Fette, Seifen. Anstrichin, 5α (1983) 64.
v. G-rli. J. Schlich er, і, Mayer and S, Sang. Tenside VMV .1 s n 1-1087) 42.
K. Thoma and P. Serno, Pharm. Ind., 45 (1983) 192.
K. Thoma and P. Serno, Pharm. Ind., 45 (1983) 990.
R.J. Hunter, Foundations of < Colloid Science, Vol. 1, Oxford University Press, Oxford, 1986.
J.R, Dafler, J. Am. Oil Chem. Soc., 54 (1977) 249.
J.S. Aronhime, S. Sarig and N. Garti, J. Am. Oil Chem. Soc., 65 (1988) 1144.